elecena.pl

12-Bit 66kSPS Analog-to-Digital Converter (ADC) With Serial Control and 11 Analog Inputs

Texas Instruments

12-Bit 66kSPS Analog-to-Digital Converter (ADC) With Serial Control and 11 Analog Inputs RSS Sample
  • Darmowa próbka
MPN:
TLC2543M
Producent:
TEXAS INSTRUMENTS
Dodany do bazy:
Ostatnio widziany:

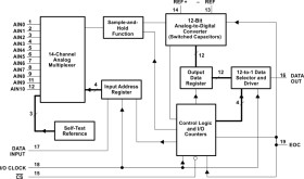
The TLC2543C and TLC2543I are 12-bit, switched-capacitor, successive-approximation, analog-to-digital converters. Each device, with three control inputs [chip select (CS\), the input-output clock, and the address input (DATA INPUT)], is designed for communication with the serial port of a host processor or peripheral through a serial 3-state output. The device allows high-speed data transfers from the host.

In addition to the high-speed converter and versatile control capability, the device has an on-chip 14-channel multiplexer that can select any one of 11 inputs or any one of three internal self-test voltages. The sample-and-hold function is automatic. At the end of conversion, the end-of-conversion (EOC) output goes high to indicate that conversion is complete. The converter incorporated in the device features differential high-impedance reference inputs that facilitate ratiometric conversion, scaling, and isolation of analog circuitry from logic and supply noise. A switched-capacitor design allows low-error conversion over the full operating temperature range.

The TLC2543C is characterized for operation from TA = 0°C to 70°C. The TLC2543I is characterized for operation from TA = –40°C to 85°C. The TLC2543M is characterized for operation from TA = –55°C to 125°C.

Elecena nie prowadzi sprzedaży elementów elektronicznych, ani w niej nie pośredniczy.

Produkt pochodzi z oferty sklepu