Quad-Channel, 14-Bit, 105-MSPS Analog-to-Digital Converter (ADC)
Texas Instruments
RSS
Sample
- Darmowa próbka
- MPN:
- ADS6444
- Producent:
- TEXAS INSTRUMENTS
- Dodany do bazy:
- Ostatnio widziany:
Sugerowane produkty dla ads644x
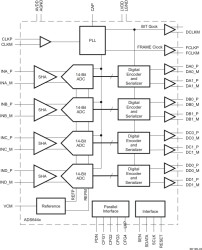
The ADS6445/ADS6444/ADS6443/ADS6442 (ADS644X) is a family of high performance 14-bit 125/105/80/65 MSPS quad channel A-D converters. Serial LVDS data outputs reduce the number of interface lines, resulting in a compact 64-pin QFN package (9 mm × 9 mm) that allows for high system integration density. The device includes 3.5dB coarse gain option that can be used to improve SFDR performance with little degradation in SNR. In addition to the coarse gain, fine gain options also exist, programmable in 1dB steps up to 6dB.
The output interface is 2-wire, where each ADC data is serialized and output over two LVDS pairs. This makes it possible to halve the serial data rate (compared to a 1-wire interface) and restrict it to less than 1Gbps easing receiver design. The ADS644X also includes the traditional 1-wire interface that can be used at lower sampling frequencies.
An internal phase lock loop (PLL) multiplies the incoming ADC sampling clock to derive the bit clock. The bit clock is used to serialize the 14-bit data from each channel. In addition to the serial data streams, the frame and bit clocks are also transmitted as LVDS outputs.
The LVDS output buffers have features such as programmable LVDS currents, current doubling modes and internal termination options. These can be used to widen eye-openings and improve signal integrity, easing capture by the receiver.
The ADC channel outputs can be transmitted either as MSB or LSB first and 2s complement or straight binary.
The ADS644X has internal references, but can also support an external reference mode. The device is specified over the industrial temperature range (–40°C to 85°C).
Elecena nie prowadzi sprzedaży elementów elektronicznych, ani w niej nie pośredniczy.
Produkt pochodzi z oferty sklepu Texas Instruments