elecena.pl

Low Power, Rail-to-Rail Output, 16-Bit, Serial Input Digital-to-Analog Converter

Texas Instruments

Low Power, Rail-to-Rail Output, 16-Bit, Serial Input Digital-to-Analog Converter RSS Sample
  • Darmowa próbka
MPN:
DAC8531
Producent:
TEXAS INSTRUMENTS
Dodany do bazy:
Ostatnio widziany:

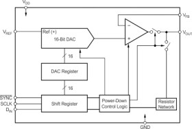
The DAC8531 is a low-power, single, 16-bit buffered voltage output Digital-to-Analog Converter (DAC). Its on-chip precision output amplifier allows rail-to-rail output swing to be achieved. The DAC8531 uses a versatile three-wire serial interface that operates at clock rates up to 30MHz and is compatible with standard SPI™, QSPI™, Microwire™, and Digital Signal Processor (DSP) interfaces.

The DAC8531 requires an external reference voltage to set the output range of the DAC. The DAC8531 incorporates a power-on reset circuit that ensures that the DAC output powers up at 0V and remains there until a valid write takes place to the device. The DAC8531 contains a power-down feature, accessed over the serial interface, that reduces the current consumption of the device to 200nA at 5V.

The low power consumption of this part in normal operation makes it ideally suited to portable battery-operated equipment. The power consumption is 2mW at 5V reducing to 1 µW in power-down mode.

The DAC8531 is available in both MSOP-8 and 3x3 SON-8 (same size as QFN) packages.

Elecena nie prowadzi sprzedaży elementów elektronicznych, ani w niej nie pośredniczy.

Produkt pochodzi z oferty sklepu