elecena.pl

4-Wire Touch Screen Controller with low voltage digital I/O and extended ESD protection

Texas Instruments

4-Wire Touch Screen Controller with low voltage digital I/O and extended ESD protection RSS Sample
  • Darmowa próbka
MPN:
TSC2046E
Producent:
TEXAS INSTRUMENTS
Dodany do bazy:
Ostatnio widziany:

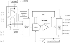
The TSC2046E is the next-generation version of the ADS7846 4-wire touch screen controller, supporting a low-voltage I/O interface from 1.5V to 5.25V. The TSC2046E is 100% pin-compatible with the existing ADS7846, and drops into the same socket. This design allows for an easy upgrade of current applications to the new version. The TSC2046E also has an on-chip 2.5V reference that can be used for the auxiliary input, battery monitor, and temperature measurement modes. The reference can also be powered down when not used to conserve power. The internal reference operates down to a supply voltage of 2.7V, while monitoring the battery voltage from 0V to 6V.

The low-power consumption of < 0.75mW typ at 2.7V (reference off), high-speed (up to 125kHz sample rate), and on-chip drivers make the TSC2046E an ideal choice for battery-operated systems such as personal digital assistants (PDAs) with resistive touch screens, pagers, cellular phones, and other portable equipment. The TSC2046E is available in TSSOP-16, QFN-16, and VFBGA-48 packages and is specified over the -40°C to +85°C temperature range.

Elecena nie prowadzi sprzedaży elementów elektronicznych, ani w niej nie pośredniczy.

Produkt pochodzi z oferty sklepu