elecena.pl

Gigabit Ethernet SerDes in small 40-pin package

Texas Instruments

Gigabit Ethernet SerDes in small 40-pin package RSS Sample
  • Darmowa próbka
MPN:
TLK1221
Producent:
TEXAS INSTRUMENTS
Dodany do bazy:
Ostatnio widziany:

The TLK1221 gigabit Ethernet transceiver provides for high-speed full-duplex point-to-point data transmissions. These devices are based on the timing requirements of the 10-bit interface specification by the IEEE 802.3 Gigabit Ethernet specification. The TLK1221 supports data rates from 0.6 Gbps through 1.3 Gbps.

The primary application of these devices is to provide building blocks for point-to-point baseband data transmission over controlled-impedance media of 50 . The transmission media can be printed-circuit board traces, copper cables or fiber-optical media. The ultimate rate and distance of data transfer is dependent upon the attenuation characteristics of the media and the noise coupling to the environment.

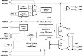
The TLK1221 performs the data serialization, deserialization, and clock extraction functions for a physical layer interface device. The transceiver operates at 1.25 Gbps (typical), providing up to 1 Gbps of data bandwidth over a copper or optical media interface.

This device supports the defined 10-bit interface (TBI). In the TBI mode, the serializer/deserializer (SERDES) accepts 10-bit wide 8b/10b parallel encoded data bytes. The parallel data bytes are serialized and transmitted differentially at PECL-compatible voltage levels. The SERDES extracts clock information from the input serial stream and deserializes the data, outputting a parallel 10-bit data byte.

A comprehensive series of built-in tests is provided for self-test purposes, including loopback and pseudorandom binary sequence (PRBS) generation and verification.

The TLK1221 is housed in a high-performance, thermally enhanced, 40-pin QFN package. Use of this package does not require any special considerations except to note that the pad, which is an exposed die pad on the bottom of the device, is a metallic thermal and electrical conductor. It is required that the TLK1221 pad be soldered to the thermal land on the board as it serves as the main ground connection for the device.

The TLK1221 is characterized for operation from –40°C to 85°C.

This device uses a 2.5-V supply. The I/O section is 3.3-V compatible. With the 2.5-V supply, the chipset is very power-efficient, dissipating less than 200 mW typical power when operating at 1.25 Gbps.

The TLK1221 is designed to be hot-plug capable. A power-on reset causes RBC0, RBC1, the parallel output signal terminals, TXP, and TXN to be held in the high-impedance state.

Elecena nie prowadzi sprzedaży elementów elektronicznych, ani w niej nie pośredniczy.

Produkt pochodzi z oferty sklepu