1.5K-Bit Serial EPROM with SDQ Interface
Texas Instruments
RSS
Sample
Przejdź do sklepu »
- Darmowa próbka
- MPN:
- BQ2026
- Producent:
- TEXAS INSTRUMENTS
- Dodany do bazy:
- Ostatnio widziany:
Sugerowane produkty dla bq2026
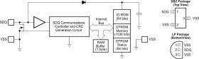
The bq2026 is a 1.5K-bit serial EPROM containing a factory-programmed, unique 48-bit identification number, 8-bit family code, and a 64-bit status register.
The bq2026 SDQ™ interface requires only a single connection and a ground return. The SDQ pin is also the sole power source for the bq2026.
The small surface-mount package options saves printed-circuit-board space, while the low cost makes it ideal for applications such as battery-pack configuration parameters, record maintenance, asset tracking, product-revision status, and access-code security.
Elecena nie prowadzi sprzedaży elementów elektronicznych, ani w niej nie pośredniczy.
Produkt pochodzi z oferty sklepu Texas Instruments