elecena.pl

200-mA, low-IQ, negative, adjustable low-dropout voltage regulator with enable

Texas Instruments

200-mA, low-IQ, negative, adjustable low-dropout voltage regulator with enable RSS Sample
  • Darmowa próbka
MPN:
TPS7A3401
Producent:
TEXAS INSTRUMENTS
Dodany do bazy:
Ostatnio widziany:

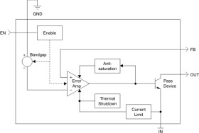
The TPS7A3401 device is a negative, high-voltage (–20-V), low-noise linear regulator capable of sourcing a maximum load of 200 mA.

These linear regulators include a CMOS logic-level-compatible enable pin. Other features available include built-in current limit and thermal shutdown protection to safeguard the device and system during fault conditions.

The TPS7A3401 is designed using bipolar technology, and is ideal for instrumentation applications where clean voltage rails are critical for improving system performance. This design makes it a cost-effective choice to power operational amplifiers, analog-to-digital converters (ADCs), digital-to-analog converters (DACs), and other analog circuitry.

In addition, the TPS7A3401 linear regulator is suitable for cost-effective, post DC-DC converter regulation. By filtering out the output voltage ripple inherent to DC-DC switching conversion, increased system performance is provided in instrumentation applications.

Elecena nie prowadzi sprzedaży elementów elektronicznych, ani w niej nie pośredniczy.

Produkt pochodzi z oferty sklepu