elecena.pl

800-mA, 6-MHz Synchronous Step-Down Converter in Chip Scale Packaging

Texas Instruments

800-mA, 6-MHz Synchronous Step-Down Converter in Chip Scale Packaging RSS Sample
  • Darmowa próbka
MPN:
TPS62650
Producent:
TEXAS INSTRUMENTS
Dodany do bazy:
Ostatnio widziany:

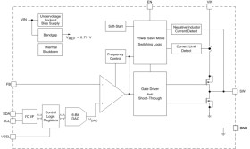
The TPS6265x device is a high-frequency synchronous step-down dc-dc converter optimized for battery-powered portable applications. Intended for low-power applications, the TPS6265x supports up to 800mA load current and allows the use of small, low cost inductors and capacitors.

The device is ideal for mobile phones and similar portable applications powered by a single-cell Li-Ion battery. With an output voltage range adjustable via I2C interface down to 0.75V, the device supports low-voltage DSPs and processors core power supplies in smart-phones and handheld computers.

The TPS6265x operates at a regulated 6MHz switching frequency and enters the efficiency optimized power-save mode operation at light load currents to maintain high efficiency over the entire load current range. In the shutdown mode, the current consumption is reduced to less than 3.5µA.

The serial interface is compatible with Standard, Fast/Fast Plus and High-Speed mode I2C specification allowing transfers at up to 3.4 Mbps. This communication interface is used for dynamic voltage scaling with voltage steps down to 12.5mV, for setting the output voltage or reprogramming the mode of operation (PFM/PWM or Forced PWM) for instance.

The TPS6265x is available in an 9-pin chip-scale package (CSP).

Elecena nie prowadzi sprzedaży elementów elektronicznych, ani w niej nie pośredniczy.

Produkt pochodzi z oferty sklepu