12-channel, 16-bit ES-PWM RGB LED driver with 3.3V Linear Regulator
Texas Instruments
RSS
Sample
Przejdź do sklepu »
- Darmowa próbka
- MPN:
- TLC5971
- Producent:
- TEXAS INSTRUMENTS
- Dodany do bazy:
- Ostatnio widziany:
Sugerowane produkty dla tlc5971
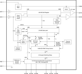
The TLC5971 device is a 12-channel, constant-current sink driver. Each output channel has individually adjustable currents with 65536 PWM grayscale (GS) steps. Also, each color group can be controlled by 128 constant-current sink steps with the global brightness control (BC) function. GS control and BC are accessible through a two-wire signal interface. The maximum current value for each channel is set by a single external resistor. All constant-current outputs are turned off when the IC is in an overtemperature condition.
Elecena nie prowadzi sprzedaży elementów elektronicznych, ani w niej nie pośredniczy.
Produkt pochodzi z oferty sklepu Texas Instruments