DaVinci Digital Media Processor
Texas Instruments
RSS
Sample
- Darmowa próbka
- MPN:
- TMS320DM368
- Producent:
- TEXAS INSTRUMENTS
- Dodany do bazy:
- Ostatnio widziany:
Sugerowane produkty dla dm368
Developers can now deliver crystal clear multi-format video at up to 1080p H.264 at 30fps (encode and closed-looped decode) in their digital video designs without concerns of video format support, constrained network bandwidth, limited system storage capacity or cost with the new TMS320DM368 DaVinci™ video processors from Texas Instruments Incorporated (TI).
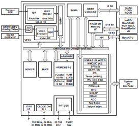
The DM368 is capable of achieving HD video processing at 1080p 30fps H.264 and is completely pin-to-pin compatible with the DM365 processors, using the same ARM926EJ-S core running at 432 MHz. This ARM9-based DM368 device supports production-qualified H.264BP/MP/HP, MPEG-4, MPEG-2, MJPEG and VC1/WMV9 codecs providing customers with the flexibility to select the right video codec for their application. These codecs run on independent coprocessors (HDVICP and MJCP) offloading all compression needs from the main ARM core. This allows developers to obtain optimal performance from the ARM for their applications, including their multi-channel, multi-stream and multi-format needs.
Video surveillance designers achieve greater compression efficiency to provide more storage without straining the network bandwidth. Developers of media playback and camera-driven applications, such as video doorbells, digital signage, digital video recorders, portable media players and more can take advantage of the low power consumption and can ensure interoperability, as well as product scalability by taking advantage of the full suite of codecs supported on the DM368.
Along with multi-format HD video, the DM368 also features a suite of peripherals saving developers on system cost and complexity to enable a seamless interface to most additional external devices required for video applications. The image sensor interface is flexible enough to support CCD, CMOS, and various other interfaces such as BT.565, BT1120. The DM368 also offers a high level of integration with HD display support, including three built-in 10-bit HD analog video digital-to-analog converters (DACs), DDR2/mDDR, Ethernet MAC, USB 2.0, integrated audio, host port interface (HPI), analog-to digital converter and many more features saving developers on overall system costs, as well as real estate on their circuit boards allowing for a slimmer, sleeker design.
Elecena nie prowadzi sprzedaży elementów elektronicznych, ani w niej nie pośredniczy.
Produkt pochodzi z oferty sklepu Texas Instruments