elecena.pl

8-MHz Sensing MCU with 1 16-bit Sigma-Delta ADC, 12-bit DAC, 56-segment LCD, 24KB Flash, 256B RAM

Texas Instruments

8-MHz Sensing MCU with 1 16-bit Sigma-Delta ADC, 12-bit DAC, 56-segment LCD, 24KB Flash, 256B RAM RSS Sample
  • Darmowa próbka
MPN:
MSP430F4260
Producent:
TEXAS INSTRUMENTS
Dodany do bazy:
Ostatnio widziany:

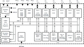
The Texas Instruments MSP430 family of ultralow-power microcontrollers consist of several devices featuring different sets of peripherals targeted for various applications. The architecture, combined with five low power modes, is optimized to achieve extended battery life in portable measurement applications. The device features a powerful 16-bit RISC CPU, 16-bit registers, and constant generators that contribute to maximum code efficiency. The digitally controlled oscillator (DCO) allows wake-up from low-power modes to active mode in less than 6 µs.

The MSP430F42x0 is a microcontroller configuration with a 16-bit timer, a high performance 16-bit sigma-delta A/D converter, 12-bit D/A converter, 32 I/O pins, and a liquid crystal display driver.

Typical applications for this device include analog and digital sensor systems, digital motor control, remote controls, thermostats, digital timers, hand-held meters, etc.

Elecena nie prowadzi sprzedaży elementów elektronicznych, ani w niej nie pośredniczy.

Produkt pochodzi z oferty sklepu