elecena.pl

8-MHz Sensing MCU with 1 16-bit Sigma-Delta ADC, 12-bit DAC, 128-segment LCD, 32KB Flash, 2KB RAM

Texas Instruments

8-MHz Sensing MCU with 1 16-bit Sigma-Delta ADC, 12-bit DAC, 128-segment LCD, 32KB Flash, 2KB RAM RSS Sample
  • Darmowa próbka
MPN:
MSP430F477
Producent:
TEXAS INSTRUMENTS
Dodany do bazy:
Ostatnio widziany:

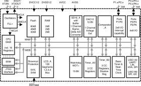
The Texas Instruments MSP430™ family of ultra-low-power microcontrollers consists of several devices featuring different sets of peripherals targeted for various applications. The architecture, combined with five low-power modes, is optimized to achieve extended battery life in portable measurement applications. The device features a powerful 16-bit RISC CPU, 16-bit registers, and constant generators that contribute to maximum code efficiency.The digitally controlled oscillator (DCO) allows wake-up from low-power modes to active mode in less than 6 µs.

The MSP430F47x is a microcontroller configuration with two 16-bit timers, a basic timer with a real-time clock, a high-performance 16-bit sigma-delta A/D converter, single 12-bit D/A converter, two universal serial communication interface, 48 I/O pins, and a liquid crystal display driver.

For complete module descriptions, see the MSP430x4xx Family User’s Guide.

Elecena nie prowadzi sprzedaży elementów elektronicznych, ani w niej nie pośredniczy.

Produkt pochodzi z oferty sklepu