elecena.pl

8 MHz MCU with 24KB Flash, 256B SRAM, 16-bit sigma-delta ADC, 12-bit DAC, 2 OpAmp, 56 seg LCD

Texas Instruments

8 MHz MCU with 24KB Flash, 256B SRAM, 16-bit sigma-delta ADC, 12-bit DAC, 2 OpAmp, 56 seg LCD RSS Sample
  • Darmowa próbka
MPN:
MSP430FG4260
Producent:
TEXAS INSTRUMENTS
Dodany do bazy:
Ostatnio widziany:

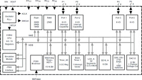
The Texas Instruments MSP430 family of ultralow-power microcontrollers consist of several devices featuring different sets of peripherals targeted for various applications. The architecture, combined with five low-power modes, is optimized to achieve extended battery life in portable measurement applications. The device features a powerful 16-bit RISC CPU, 16-bit registers, and constant generators that contribute to maximum code efficiency. The digitally controlled oscillator (DCO) allows wake-up from low-power modes to active mode in less than 6µs.

The MSP430FG42x0 is a microcontroller configuration with a 16-bit timer, a high-performance 16-bitsigma-delta A/D converter, 12-bit D/A converter, two configurable operational amplifiers, 32 I/O pins, and a liquid crystal display driver.

Typical applications for this device include analog and digital sensor systems, digital motor control, remote controls, thermostats, digital timers, hand-held meters, etc.

Elecena nie prowadzi sprzedaży elementów elektronicznych, ani w niej nie pośredniczy.

Produkt pochodzi z oferty sklepu