elecena.pl

Automotive 16-MHz MCU with 2-kb Flash, 128B SRAM, timer

Texas Instruments

Automotive 16-MHz MCU with 2-kb Flash, 128B SRAM, timer RSS Sample
  • Darmowa próbka
MPN:
MSP430G2201-Q1
Producent:
TEXAS INSTRUMENTS
Dodany do bazy:
Ostatnio widziany:

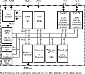
The Texas Instruments MSP430 family of ultra-low-power microcontrollers consists of several devices featuring different sets of peripherals targeted for various applications. The architecture, combined with five low-power modes, is optimized to achieve extended battery life in portable measurement applications. The device features a powerful 16-bit RISC CPU, 16-bit registers, and constant generators that contribute to maximum code efficiency. The digitally controlled oscillator (DCO) allows the device to wake up from low-power modes to active mode in less than 1 µs.

The MSP430G2x01 and MSP430G2x11 devices include ultra-low-power mixed-signal microcontrollers with a built-in 16-bit timer and 10 I/O pins. The MSP430G2x11 family members have a versatile analog comparator.

Typical applications include low-cost sensor systems that capture analog signals, convert them to digital values, and then process the data for display or for transmission to a host system.

Elecena nie prowadzi sprzedaży elementów elektronicznych, ani w niej nie pośredniczy.

Produkt pochodzi z oferty sklepu