elecena.pl

Dual-Channel, 12-Bit, 800-MSPS Analog-to-Digital Converter (ADC)

Texas Instruments

Dual-Channel, 12-Bit, 800-MSPS Analog-to-Digital Converter (ADC) RSS Sample
  • Darmowa próbka
MPN:
ADS5402
Producent:
TEXAS INSTRUMENTS
Dodany do bazy:
Ostatnio widziany:

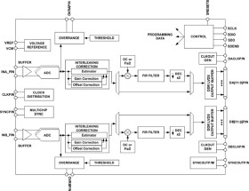
The ADS5402 is a high linearity dual channel 12-bit, 800 Msps analog-to-digital converter (ADC) easing front end filter design for wide bandwidth receivers. The analog input buffer isolates the internal switching of the on-chip track-and-hold from disturbing the signal source as well as providing a high-impedance input. Optionally the output data can be decimated by two. Designed for high SFDR, the ADC has low-noise performance and very good spurious-free dynamic range over a large input-frequency range. The device is available in a 196-pin BGA package and is specified over the full industrial temperature range (–40°C to 85°C).

Elecena nie prowadzi sprzedaży elementów elektronicznych, ani w niej nie pośredniczy.

Produkt pochodzi z oferty sklepu