elecena.pl

3-channel, 8-bit, PWM LED driver with Single-Wire Interface

Texas Instruments

3-channel, 8-bit, PWM LED driver with Single-Wire Interface RSS Sample
  • Darmowa próbka
MPN:
TLC59731
Producent:
TEXAS INSTRUMENTS
Dodany do bazy:
Ostatnio widziany:

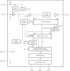
The TLC59731 device is an easy-to-use, 3-channel, 50-mA sink current LED driver. The single-wire, 600-kbps serial interface (EasySet) provides a solution for minimizing wiring cost. The LED driver provides 8-bit pulse width modulation (PWM) resolution and a simple gamma correction feature. The display repeat rate is achieved at 3.1 kHz (typical) with an integrated 6-MHz grayscale (GS) clock oscillator. The driver also provides unlimited cascading capability.

Output sink current can be set by each external resistor connected to the OUTn terminal in series. The TLC59731 has an internal shunt regulator that can be used for higher VCC power-supply voltage applications.

Elecena nie prowadzi sprzedaży elementów elektronicznych, ani w niej nie pośredniczy.

Produkt pochodzi z oferty sklepu