elecena.pl

16 MHz MCU with 16KB FRAM, 4KB SRAM, 10-bit ADC, UART/SPI/I2C, timer

Texas Instruments

16 MHz MCU with 16KB FRAM, 4KB SRAM, 10-bit ADC, UART/SPI/I2C, timer RSS Sample
  • Darmowa próbka
MPN:
MSP430FR2433
Producent:
TEXAS INSTRUMENTS
Dodany do bazy:
Ostatnio widziany:

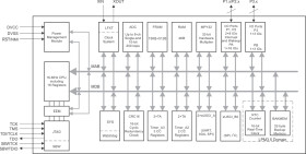
The MSP430FR2433 microcontroller (MCU) is part of the MSP430™ Value Line sensing portfolio, TI’s lowest-cost family of MCUs for sensing and measurement applications. The architecture, FRAM, and integrated peripherals, combined with extensive low-power modes, are optimized to achieve extended battery life in portable and battery-powered sensing applications in a small VQFN package (4 mm × 4 mm).

TI’s MSP430 ultra-low-power FRAM microcontroller platform combines uniquely embedded FRAM and a holistic ultra-low-power system architecture, allowing system designers to increase performance while lowering energy consumption. FRAM technology combines the low-energy fast writes, flexibility, and endurance of RAM with the nonvolatility of flash.

The MSP430FR2433 MCU is supported by an extensive hardware and software ecosystem with reference designs and code examples to get your design started quickly. Development kits include the MSP‑EXP430FR2433 LaunchPad™ development kit and the MSP‑TS430RGE24A 24-pin target development board. TI also provides free MSP430Ware™ software, which is available as a component of Code Composer Studio™ IDE desktop and cloud versions within TI Resource Explorer. The MSP430 MCUs are also supported by extensive online collateral, training, and online support through the E2E™ support forums.

For complete module descriptions, see the MSP430FR4xx and MSP430FR2xx Family User’s Guide.

Elecena nie prowadzi sprzedaży elementów elektronicznych, ani w niej nie pośredniczy.

Produkt pochodzi z oferty sklepu