elecena.pl

132-dB, 24-bit, 192-kHz advanced Segment, Audio Stereo Digital-to-Analog Converter

Texas Instruments

132-dB, 24-bit, 192-kHz advanced Segment, Audio Stereo Digital-to-Analog Converter RSS Sample
  • Darmowa próbka
MPN:
PCM1794A-Q1
Producent:
TEXAS INSTRUMENTS
Dodany do bazy:
Ostatnio widziany:

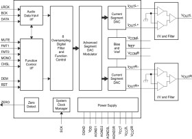
The PCM1794A-Q1 device is a monolithic, CMOS-integrated circuit that includes stereo digital-to-analog converters (DACs) and support circuitry in a small 28-pin SSOP package. The data converters use TI’s advanced segment DAC architecture to achieve excellent dynamic performance and improved tolerance to clock jitter. The PCM1794A-Q1 device provides balanced current outputs, allowing the user to optimize analog performance externally. Sampling rates up to 200 kHz are supported.

For all available packages, see the orderable addendum at the end of the data sheet.

Elecena nie prowadzi sprzedaży elementów elektronicznych, ani w niej nie pośredniczy.

Produkt pochodzi z oferty sklepu