elecena.pl

Differential inductive switch for MCU-less applications

Texas Instruments

Differential inductive switch for MCU-less applications RSS Sample
  • Darmowa próbka
MPN:
LDC0851
Producent:
TEXAS INSTRUMENTS
Dodany do bazy:
Ostatnio widziany:

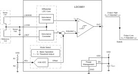
The LDC0851 is a close range inductive switch ideal for contactless, simple switch applications such as presence detection and event counting.

The switch is triggered when a conductive object comes within close proximity of the sensing coil. Hysteresis is included to ensure a reliable switching threshold. The differential implementation prevents false triggering over environmental factors such as temperature variation or humidity effects. The LDC0851 does not require an MCU to operate, allowing for a simplistic solution.

Inductive sensing technology provides reliable and accurate sensing even in the presence of dirt, oil, or moisture making it ideal for use in harsh or dirty environments. The solid state switching eliminates the failures due to reed, mechanical, or contact switching. Unlike competitive products, the LDC0851 does not require magnets, nor is it affected by DC magnetic fields.

Elecena nie prowadzi sprzedaży elementów elektronicznych, ani w niej nie pośredniczy.

Produkt pochodzi z oferty sklepu