elecena.pl

2.5 V to 5.5 V, 500 A, Quad Voltage Output 10-Bit DAC in 10-Lead Packages

Analog Devices

2.5 V to 5.5 V, 500 A, Quad Voltage Output 10-Bit DAC in 10-Lead Packages RSS Sample
  • Darmowa próbka
MPN:
AD5314
Producent:
ANALOG DEVICES
Dodany do bazy:
Ostatnio widziany:
Zmiana ceny:
-100% (20.01.2025)
Poprzednia cena:
3.34

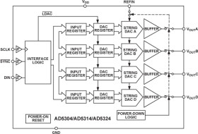
The AD5304/AD5314/AD5324 are quad 8-, 10-, and 12-bit buffered voltage output DACs in 10-lead MSOP and 10-lead LFCSP packages that operate from a single 2.5 V to 5.5 V supply, consuming 500 μA at 3 V. Their on-chip output amplifiers allow rail-to-rail output swing to be achieved with a slew rate of 0.7 V/μs. A 3-wire serial interface is used; it operates at clock rates up to 30 MHz and is compatible with standard SPI, QSPI, MICROWIRE, and DSP interface standards.

The references for the four DACs are derived from one reference pin. The outputs of all DACs can be updated simultaneously using the software LDAC function. The parts incorporate a power-on reset circuit, and ensure that the DAC outputs power up to 0 V and remains there until a valid write takes place to the device. The parts contain a power-down feature that reduces the current consumption of the device to 200 nA @ 5 V (80 nA @ 3 V).

The low power consumption of these parts in normal operation makes them ideally suited to portable battery-operated equipment. The power consumption is 3 mW at 5 V, 1.5 mW at 3 V, reducing to 1 μW in power-down mode.

Applications

* Portable battery-powered instruments

* Digital gain and offset adjustment

* Programmable voltage and current sources

* Programmable attenuators

* Industrial process controls

* 4 buffered 10-Bit DACs in 10-lead MSOP and 10-lead LFCSP

* A, W Version: ±4 LSB INL, B Version: ±2.5 LSB INL

* Low power operation: 500 µA @ 3 V, 600 µA @ 5 V

* 2.5 V to 5.5 V power supply

* Guaranteed monotonic by design over all codes

* Power-down to 80 nA @ 3 V, 200 nA @ 5 V

Elecena nie prowadzi sprzedaży elementów elektronicznych, ani w niej nie pośredniczy.

Produkt pochodzi z oferty sklepu