elecena.pl

Dual 12-Bit, High Bandwidth, Multiplying DAC with 4 Quadrant Resistors and Serial Interface

Analog Devices

Dual 12-Bit, High Bandwidth, Multiplying DAC with 4 Quadrant Resistors and Serial Interface RSS Sample
  • Darmowa próbka
MPN:
AD5415
Producent:
ANALOG DEVICES
Dodany do bazy:
Ostatnio widziany:
Zmiana ceny:
-100% (18.01.2025)
Poprzednia cena:
6.16

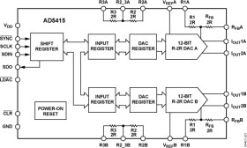
The AD5415 is a CMOS, 12-bit, dual channel, current output digital-to-analog converter. This device operates from a 2.5 V to 5.5 V power supply, making it suited to battery-powered applications and other applications.

As a result of being manufactured on a CMOS submicron process, this part offers excellent 4-quadrant multiplication characteristics, with large-signal multiplying bandwidths of 10 MHz.

The applied external reference input voltage (VREF) determines the full scale output current. An integrated feedback resistor (RFB) provides temperature tracking and full scale voltage output when combined with an external current to voltage precision amplifier. In addition, this device contains the 4-quadrant resistors necessary for bipolar operation and other configuration modes.

This DAC uses a double buffered, 3-wire serial interface that is compatible with SPI®, QSPI™, MICROWIRE™, and most DSP interface standards. In addition, a serial data out pin (SDO) allows daisy-chaining when multiple packages are used. Data readback allows the user to read the contents of the DAC register via the SDO pin. On power-up, the internal shift register and latches are filled with 0s, and the DAC outputs are at zero scale.

The AD5415 DAC is available in a 24-lead TSSOP package. The EVAL-AD5415/AD5449SDZ evaluation board is available for evaluating DAC performance. For more information, see the UG-296 evaluation board user guide.

APPLICATIONS

* Portable battery-powered applications

* Waveform generators

* Analog processing

* Instrumentation applications

* Programmable amplifiers and attenuators

* Digitally controlled calibration

* Programmable filters and oscillators

* Composite video

* Ultrasound

* Gain, offset, and voltage trimming

* 10 MHz multiplying bandwidth

* On-chip 4-quadrant resistors allow flexible output ranges

* INL of ±1 LSB

* 24-lead TSSOP package

* 2.5 V to 5.5 V supply operation

* ±10 V reference input

* 50 MHz serial interface

Elecena nie prowadzi sprzedaży elementów elektronicznych, ani w niej nie pośredniczy.

Produkt pochodzi z oferty sklepu