elecena.pl

1.5 Ω On Resistance, ±15 V/+12 V/±5 V, CMOS, Quad SPST Switch

Analog Devices

1.5 Ω On Resistance, ±15 V/+12 V/±5 V, CMOS, Quad SPST Switch RSS Sample
  • Darmowa próbka
MPN:
ADG1413
Producent:
ANALOG DEVICES
Dodany do bazy:
Ostatnio widziany:
Zmiana ceny:
-100% (19.01.2025)
Poprzednia cena:
3.22

The ADG1411/ADG1412/ADG1413 are monolithic complementary metal-oxide semiconductor (CMOS) devices containing four independently selectable switches designed on an iCMOS® process. iCMOS (industrial CMOS) is a modular manufacturing process combining high voltage CMOS and bipolar technologies. It enables the development of a wide range of high performance analog ICs capable of 33 V operation in a footprint that no previous generation of high voltage devices has been able to achieve. Unlike analog ICs using conventional CMOS processes, iCMOS components can tolerate high supply voltages while providing increased performance, dramatically lower power consumption, and reduced package size.

The on-resistance profile is very flat over the full analog input range, ensuring excellent linearity and low distortion when switching signals.

iCMOS construction ensures ultralow power dissipation, making the devices ideally suited for portable and battery-powered instruments.

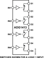
The ADG1411/ADG1412/ADG1413 contain four independent single-pole/single-throw (SPST) switches. The ADG1411 and ADG1412 differ only in that the digital control logic is inverted. The ADG1411 switches are turned on with Logic 0 on the appropriate control input, whereas the ADG1412 switches are turned on with Logic 1. The ADG1413 has two switches with digital control logic similar to that of the ADG1411; the logic is inverted on the other two switches. Each switch conducts equally well in both directions when on and has an input signal range that extends to the supplies. In the off condition, signal levels up to the supplies are blocked.

The ADG1413 exhibits break-before-make switching action for use in multiplexer applications. Inherent in the design is low charge injection, which results in minimum transients when the digital inputs are switched

Product Highlights

* 2.6 Ω maximum on resistance over temperature

* Minimum distortion

* Ultralow power dissipation: <0.03 μW

* 16-lead TSSOP and 16-lead, 4 mm × 4 mm LFCSP

Applications

* Automated test equipment

* Data acquisition systems

* Battery-powered systems

* Sample-and-hold systems

* Audio signal routing

* Video signal routing

* Communications systems

* Relay replacement

* 1.5 Ω on resistance

* 0.3 Ω on-resistance flatness

* 0.1 Ω on-resistance match between channels

* Continuous current per channel

* LFCSP: 250 mA

* TSSOP: 190 mA

* Fully specified at +12 V, ±15 V, and ±5 V

Elecena nie prowadzi sprzedaży elementów elektronicznych, ani w niej nie pośredniczy.

Produkt pochodzi z oferty sklepu