elecena.pl

20-W stereo, 40-W mono, 4.5- to 26.4-V, digital input Class-D Smart Audio Amplifier w/ processing

Texas Instruments

20-W stereo, 40-W mono, 4.5- to 26.4-V, digital input Class-D Smart Audio Amplifier w/ processing RSS Sample
  • Darmowa próbka
MPN:
TAS5782M
Producent:
TEXAS INSTRUMENTS
Dodany do bazy:
Ostatnio widziany:

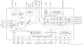
The TAS5782M device is a high-performance, stereo closed-loop Class-D amplifier with integrated audio processor with up to 96-kHz architecture. To convert from digital to analog, the device uses a high performance DAC with Burr Brown™ audio technology. It requires only two power supplies: one DVDD for low-voltage circuitry and one PVDD for high-voltage circuitry. It is controlled by a software control port using standard I2C communication.

An optimal mix of thermal performance and device cost is provided in the 90 mΩ rDS(on) of the output MOSFETs. Additionally, a thermally enhanced 48-Pin TSSOP provides excellent operation in the elevated ambient temperatures found in modern consumer electronic devices.

Elecena nie prowadzi sprzedaży elementów elektronicznych, ani w niej nie pośredniczy.

Produkt pochodzi z oferty sklepu