elecena.pl

12-Bit, 150Msps Ultralow Power 1.8V ADC

Analog Devices

12-Bit, 150Msps Ultralow Power 1.8V ADC RSS Sample
  • Darmowa próbka
MPN:
LTC2262-12
Producent:
ANALOG DEVICES
Dodany do bazy:
Ostatnio widziany:
Zmiana ceny:
-100% (21.01.2025)
Poprzednia cena:
45.01

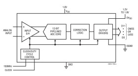
The LTC2262-12 is a sampling 12-bit A/D converter designed for digitizing high frequency, wide dynamic range signals. The LTC2262-12 is perfect for demanding communications applications with AC performance that includes 70.5dB SNR and 88dB spurious free dynamic range (SFDR). Ultralow jitter of 0.17psRMS allows undersampling of IF frequencies with excellent noise performance.

DC specs include ±0.3LSB INL (typical), ±0.1LSB DNL (typical) and no missing codes over temperature. The transition noise is a low 0.3LSBRMS.

The digital outputs can be either full rate CMOS, double data rate CMOS, or double data rate LVDS. A separate output power supply allows the CMOS output swing to range from 1.2V to 1.8V.

The ENC+ and ENC– inputs may be driven differentially or single-ended with a sine wave, PECL, LVDS, TTL or CMOS inputs. An optional clock duty cycle stabilizer allows high performance at full speed for a wide range of clock duty cycles.

Bits

LTC2262-12

12

LTC2262-14

14

Applications

* Communications

* Cellular Base Stations

* Software Defined Radios

* Portable Medical Imaging

* Multi-Channel Data Acquisition

* Nondestructive Testing

* 70.5dB SNR

* 88dB SFDR

* Low Power: 146mW

* Single 1.8V Supply

* CMOS, DDR CMOS or DDR LVDS Outputs

* Selectable Input Ranges: 1VP-P to 2VP-P

* 800MHz Full-Power Bandwidth S/H/li>

Elecena nie prowadzi sprzedaży elementów elektronicznych, ani w niej nie pośredniczy.

Produkt pochodzi z oferty sklepu