elecena.pl

750 19.00 PLN 99.00 PLN
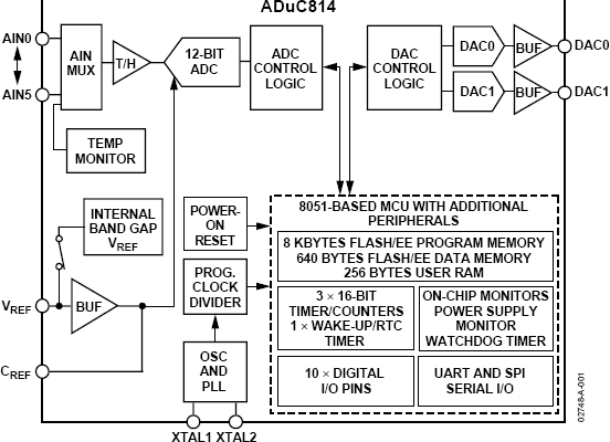
  1. Precision Analog Microcontroller: 1.3MIPS 8052 MCU + 8kB Flash + 6-Ch 12-Bit ADC + Dual 12-Bit DAC Sample
    Do sklepu »

    Precision Analog Microcontroller: 1.3MIPS 8052 MCU + 8kB Flash + 6-Ch 12-Bit ADC + Dual 12-Bit DAC

    The ADuC814 MicroConverter® is a fully integrated ...
    • Darmowa próbka
    Sklep:
    Analog Devices
    Producent:
    ANALOG DEVICES
    MPN:
    ADUC814
    Dodany:
    Zmiana ceny:
    -100%
  2. Constant-Current/Voltage High Efficiency Battery Charger Sample
    Do sklepu »

    Constant-Current/Voltage High Efficiency Battery Charger

    The LT1505 PWM battery charger controller fast ...
    • Darmowa próbka
    Sklep:
    Analog Devices
    Producent:
    ANALOG DEVICES
    MPN:
    LT1505
    Dodany:
    Zmiana ceny:
    -100%
  3. Constant-Current/Constant-Voltage Battery Charger with Preset Voltage and Termination Flag Sample
    Do sklepu »

    Constant-Current/Constant-Voltage Battery Charger with Preset Voltage and Termination Flag

    The LT1571 PWM battery charger is a simple, ...
    • Darmowa próbka
    Sklep:
    Analog Devices
    Producent:
    ANALOG DEVICES
    MPN:
    LT1571
    Dodany:
    Zmiana ceny:
    -100%
  4. High Current Quad Output Regulator for TFT LCD Panels Sample
    Do sklepu »

    High Current Quad Output Regulator for TFT LCD Panels

    The LT1943 quad output adjustable switching ...
    • Darmowa próbka
    Sklep:
    Analog Devices
    Producent:
    ANALOG DEVICES
    MPN:
    LT1943
    Dodany:
    Zmiana ceny:
    -100%
  5. Clock-Tunable, Quad Second Order, Filter Building Blocks Sample
    Do sklepu »

    Clock-Tunable, Quad Second Order, Filter Building Blocks

    The LTC1068 product family consists of four ...
    • Darmowa próbka
    Sklep:
    Analog Devices
    Producent:
    ANALOG DEVICES
    MPN:
    LTC1068
    Dodany:
    Zmiana ceny:
    -100%
  6. 12-Bit, 5Msps, Sampling ADC Sample
    Do sklepu »

    12-Bit, 5Msps, Sampling ADC

    The LTC1405 is a 5Msps, 12-bit sampling A/D ...
    • Darmowa próbka
    Sklep:
    Analog Devices
    Producent:
    ANALOG DEVICES
    MPN:
    LTC1405
    Dodany:
    Zmiana ceny:
    -100%
  7. 12-Bit, 800ksps Sampling A/D Converter with Shutdown Sample
    Do sklepu »

    12-Bit, 800ksps Sampling A/D Converter with Shutdown

    The LTC1409 is a 1µs, 800ksps, sampling 12-bit A/ ...
    • Darmowa próbka
    Sklep:
    Analog Devices
    Producent:
    ANALOG DEVICES
    MPN:
    LTC1409
    Dodany:
    Zmiana ceny:
    -100%
  8. 12-Bit, 1.25Msps, Sampling A/D Converter with Shutdown Sample
    Do sklepu »

    12-Bit, 1.25Msps, Sampling A/D Converter with Shutdown

    The LTC1410 is a 0.65µs, 1.25Msps, 12-bit sampling ...
    • Darmowa próbka
    Sklep:
    Analog Devices
    Producent:
    ANALOG DEVICES
    MPN:
    LTC1410
    Dodany:
    Zmiana ceny:
    -100%
  9. 12-Bit, 3Msps, Sampling A/D Converter Sample
    Do sklepu »

    12-Bit, 3Msps, Sampling A/D Converter

    The LTC1412 is a 12-bit, 3Msps, sampling A/D ...
    • Darmowa próbka
    Sklep:
    Analog Devices
    Producent:
    ANALOG DEVICES
    MPN:
    LTC1412
    Dodany:
    Zmiana ceny:
    -100%
  10. 14-Bit, 2.2 Msps, Sampling A/D Converter Sample
    Do sklepu »

    14-Bit, 2.2 Msps, Sampling A/D Converter

    The LTC1414 is a 14-bit, 2.2Msps, sampling A/D ...
    • Darmowa próbka
    Sklep:
    Analog Devices
    Producent:
    ANALOG DEVICES
    MPN:
    LTC1414
    Dodany:
    Zmiana ceny:
    -100%
  11. 12-Bit, 1.25Msps, 55mW Sampling A/D Converter Sample
    Do sklepu »

    12-Bit, 1.25Msps, 55mW Sampling A/D Converter

    The LTC1415 is a 700ns, 1.25Msps, 12-bit sampling ...
    • Darmowa próbka
    Sklep:
    Analog Devices
    Producent:
    ANALOG DEVICES
    MPN:
    LTC1415
    Dodany:
    Zmiana ceny:
    -100%
  12. Low Power 14-Bit, 400ksps Sampling ADC Sample
    Do sklepu »

    Low Power 14-Bit, 400ksps Sampling ADC

    The LTC1416 is a 2.2µs, 400ksps, 14-bit sampling A ...
    • Darmowa próbka
    Sklep:
    Analog Devices
    Producent:
    ANALOG DEVICES
    MPN:
    LTC1416
    Dodany:
    Zmiana ceny:
    -100%
  13. Low Power, 14-Bit, 200ksps ADC with Serial and Parallel I/O Sample
    Do sklepu »

    Low Power, 14-Bit, 200ksps ADC with Serial and Parallel I/O

    The LTC1418 is a low power, 200ksps, 14-bit A/D ...
    • Darmowa próbka
    Sklep:
    Analog Devices
    Producent:
    ANALOG DEVICES
    MPN:
    LTC1418
    Dodany:
    Zmiana ceny:
    -100%
  14. 12-Bit, 10Msps, Sampling ADC Sample
    Do sklepu »

    12-Bit, 10Msps, Sampling ADC

    The LTC1420 is a 10Msps, 12-bit sampling A/D ...
    • Darmowa próbka
    Sklep:
    Analog Devices
    Producent:
    ANALOG DEVICES
    MPN:
    LTC1420
    Dodany:
    Zmiana ceny:
    -100%
  15. 14-Bit Parallel Low Glitch Multiplying DAC with 4-Quadrant Resistors Sample
    Do sklepu »

    14-Bit Parallel Low Glitch Multiplying DAC with 4-Quadrant Resistors

    The LTC1591/LTC1597 are pin compatible, parallel ...
    • Darmowa próbka
    Sklep:
    Analog Devices
    Producent:
    ANALOG DEVICES
    MPN:
    LTC1591
    Dodany:
    Zmiana ceny:
    -100%