elecena.pl

4 73.33 PLN 74.45 PLN
  1. 24-bit, 7.2-kSPS, 3-ch differential, delta-sigma ADC with PGA and AC excitation for bridge sensors Sample
    Do sklepu »

    24-bit, 7.2-kSPS, 3-ch differential, delta-sigma ADC with PGA and AC excitation for bridge sensors

    ... at the same time. The ADS1235 is available in a 5 ...
    • Darmowa próbka
    Sklep:
    Texas Instruments
    Producent:
    TEXAS INSTRUMENTS
    MPN:
    ADS1235
    Dodany:
  2. Automotive 24-bit, 7.2-kSPS, 3-ch differential input, delta-sigma ADC with PGA and AC excitation Sample
    Do sklepu »

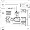
    Automotive 24-bit, 7.2-kSPS, 3-ch differential input, delta-sigma ADC with PGA and AC excitation

    ... at the same time. The ADS1235-Q1 is available in ...
    • Darmowa próbka
    Sklep:
    Texas Instruments
    Producent:
    TEXAS INSTRUMENTS
    MPN:
    ADS1235-Q1
    Dodany:
  3. Ceny od 50 zł
  4. 73.33
    Do sklepu »

    ADS1235IRHBR

    UKŁAD SCALONY ADC 24BIT BRDG SENSOR 28TSSOP
    Sklep:
    Elektronik-Service
    Producent:
    TEXAS INSTRUMENTS (TI)
    MPN:
    IMP-115586
    Obudowa:
    TSSOP28
    Dodany:
  5. 74.45
    Do sklepu »

    ADS1235IRHBT

    UKŁAD SCALONY 5V HIGH RESOLUTION 16-BIT 40KSPS
    Sklep:
    Elektronik-Service
    Producent:
    TEXAS INSTRUMENTS (TI)
    MPN:
    IMP-115587
    Dodany: