elecena.pl

2 0.00 PLN 0.00 PLN
  1. Sample
    Do sklepu »

    0.78 HEP UV DMD for 3D Printing

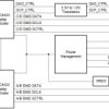
    ... comprising DLP78TUV DMD, DLPC6422 light Controller ...
    • Darmowa próbka
    Sklep:
    Texas Instruments
    Producent:
    TEXAS INSTRUMENTS
    MPN:
    DLP78TUV
    Dodany:
  2. DLP controller for 0.78in high efficiency pixel (HEP) UV DMD Sample
    Do sklepu »

    DLP controller for 0.78in high efficiency pixel (HEP) UV DMD

    ... reliable operation, the DLPC6422 light controller ...
    • Darmowa próbka
    Sklep:
    Texas Instruments
    Producent:
    TEXAS INSTRUMENTS
    MPN:
    DLPC6422
    Dodany: