elecena.pl

155 0.17 PLN 21474836.47 PLN
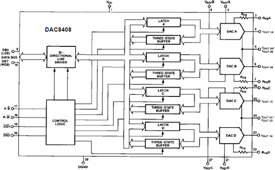
  1. Quad 8-Bit Multiplying CMOS D/A Converter with Memory Sample
    Do sklepu »

    Quad 8-Bit Multiplying CMOS D/A Converter with Memory

    ... . Control lines DS1, DS2, and A/B determine ...
    • Darmowa próbka
    Sklep:
    Analog Devices
    Producent:
    ANALOG DEVICES
    MPN:
    DAC8408
    Dodany:
    Zmiana ceny:
    -100%
  2. Enhanced product IEEE 1394b 3-port cable transceiver/arbiter Sample
    Do sklepu »

    Enhanced product IEEE 1394b 3-port cable transceiver/arbiter

    ... The PHY uses the LKON/DS2 terminal to notify the ...
    • Darmowa próbka
    Sklep:
    Texas Instruments
    Producent:
    TEXAS INSTRUMENTS
    MPN:
    TSB81BA3-EP
    Dodany:
  3. Oznaczniki na złączki 4.55x10.7mm ZB5 bez nadruku 1pasek-10szt DGN 4142 0.17
    Do sklepu »

    Oznaczniki na złączki 4.55x10.7mm ZB5 bez nadruku 1pasek-10szt DGN 4142

    ... można stosować ze złączką DS2,5 PC2,5 AQL ...
    Sklep:
    TIM SA
    Producent:
    DEGSON ELECTRONICS
    MPN:
    ZB5-10P-19-00A(H)
    ISBN:
    5907589334142
    Dodany:
  4. Oznaczniki na złączki 4.55x10.7mm ZB5 bez nadruku 1pasek-10szt DGN ZB5-10P-19-00A(H) 0.29
    Do sklepu »

    Oznaczniki na złączki 4.55x10.7mm ZB5 bez nadruku 1pasek-10szt DGN ZB5-10P-19-00A(H)

    ... można stosować ze złączką DS2,5 PC2,5 AQL ...
    Sklep:
    Doktorvolt
    Producent:
    Degson
    Dodany:
    Zmiana ceny:
    -26%
  5. Płytka końcowa do złączki szynowej 2.5mm2 DS2.5 DGN D-DS2.5-01P-11-00AH 0.49
    Do sklepu »

    Płytka końcowa do złączki szynowej 2.5mm2 DS2.5 DGN D-DS2.5-01P-11-00AH

    ... złączki 2.5 mm2 (DS2.5) akcesoria dostępne na ...
    Sklep:
    Doktorvolt
    Producent:
    Degson
    Dodany:
    Zmiana ceny:
    -17%
  6. 230/ 2 DS Screw terminals 2-pole, 2.5 mm² 0.55
    Do sklepu »

    230/ 2 DS Screw terminals 2-pole, 2.5 mm²

    Screw terminals 230/ 2 DS 2-pole Insulating body ...
    • Sklep zagraniczny (0.13 EUR)
    Sklep:
    reichelt elektronik
    Producent:
    Adels Contact
    MPN:
    230/ 2 DS
    GTIN13:
    4028012105229
    Dodany:
    Zmiana ceny:
    -43%
  7. Płytka końcowa do złączki szynowej 2.5mm2 DS2.5 DGN 4036 0.64
    Do sklepu »

    Płytka końcowa do złączki szynowej 2.5mm2 DS2.5 DGN 4036

    ... złączki 2.5 mm2 (DS2.5) akcesoria dostępne na ...
    Sklep:
    TIM SA
    Producent:
    DEGSON ELECTRONICS
    MPN:
    D-DS2.5-01P-11-00AH
    ISBN:
    5907589334036
    Dodany:
    Zmiana ceny:
    +16%
  8. 0.65
    Do sklepu »

    Płytka Końcowa Do Złączki Szynowej 2.5Mm2 Ds2.5 Dgn 4036

    Sklep:
    ELEKTRONEST
    Producent:
    DEGSON ELECTRONICS
    Dodany:
    Zmiana ceny:
    +14%
  9. Płytka końcowa do złączki szynowej 2.5mm2 DS2.5-TW DGN D-DS2.5-TW-01P-11 0.69
    Do sklepu »

    Płytka końcowa do złączki szynowej 2.5mm2 DS2.5-TW DGN D-DS2.5-TW-01P-11

    ... 2.5mm2 DS2.5-TW ✔ ... 2.5 mm2 (DS2.5-TW-01P- ...
    Sklep:
    Doktorvolt
    Producent:
    Degson
    Dodany:
    Zmiana ceny:
    -13%
  10. Złączka szynowa przelotowa zaciskowa pomarańczowa 2,5mm2 1P UL DS2.5-01P-15-00A(H) 0.79
    Do sklepu »

    Złączka szynowa przelotowa zaciskowa pomarańczowa 2,5mm2 1P UL DS2.5-01P-15-00A(H)

    ... -10P Płytka końcowa - D-DS2.5-01P Mostek wtykowy - ...
    Sklep:
    Doktorvolt
    Producent:
    Degson
    Dodany:
    Zmiana ceny:
    -11%
  11. Złączka szynowa przelotowa zaciskowa czerwona 2,5mm2 1P UL DS2.5-01P-16-00A(H) 0.79
    Do sklepu »

    Złączka szynowa przelotowa zaciskowa czerwona 2,5mm2 1P UL DS2.5-01P-16-00A(H)

    ... -10P Płytka końcowa - D-DS2.5-01P Mostek wtykowy - ...
    Sklep:
    Doktorvolt
    Producent:
    Degson
    Dodany:
    Zmiana ceny:
    -11%
  12. Mostek wtykowy 2-biegunowy do złączek szynowych DS2.5 DGN DFB2.5-02P-11-00A(H) 0.89
    Do sklepu »

    Mostek wtykowy 2-biegunowy do złączek szynowych DS2.5 DGN DFB2.5-02P-11-00A(H)

    ... .5-TW-01P-11-00AH DS2.5-TW-PE-01P-1C ...
    Sklep:
    Doktorvolt
    Producent:
    Degson
    Dodany:
    Zmiana ceny:
    -18%
  13. Złączka szynowa przelotowa zaciskowa szara 2,5mm2 1P UL DS2.5-01P-11-00A(H) 0.89
    Do sklepu »

    Złączka szynowa przelotowa zaciskowa szara 2,5mm2 1P UL DS2.5-01P-11-00A(H)

    ... -10P Płytka końcowa - D-DS2.5-01P Mostek wtykowy - ...
    Sklep:
    Doktorvolt
    Producent:
    Degson
    Dodany:
    Zmiana ceny:
    -18%
  14. Złączka szynowa przelotowa zaciskowa niebieska 2,5mm2 1P UL DS2.5-01P-12-00A(H) 0.89
    Do sklepu »

    Złączka szynowa przelotowa zaciskowa niebieska 2,5mm2 1P UL DS2.5-01P-12-00A(H)

    ... -10P Płytka końcowa - D-DS2.5-01P Mostek wtykowy - ...
    Sklep:
    Doktorvolt
    Producent:
    Degson
    Dodany:
    Zmiana ceny:
    -18%
  15. Złączka szynowa przelotowa zaciskowa czarna 2,5mm2 1P UL DS2.5-01P-13-00A(H) 0.89
    Do sklepu »

    Złączka szynowa przelotowa zaciskowa czarna 2,5mm2 1P UL DS2.5-01P-13-00A(H)

    ... -10P Płytka końcowa - D-DS2.5-01P Mostek wtykowy - ...
    Sklep:
    Doktorvolt
    Producent:
    Degson
    Dodany:
    Zmiana ceny:
    -10%