elecena.pl

377 0.26 PLN 44722.80 PLN
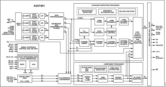
  1. 10-Bit, Integrated, Multiformat SDTV/HDTV Video Decoder and RGB Graphics Digitizer Sample
    Do sklepu »

    10-Bit, Integrated, Multiformat SDTV/HDTV Video Decoder and RGB Graphics Digitizer

    ... rear projection HDTVs * PDP HDTVs * CRT HDTVs ...
    • Darmowa próbka
    Sklep:
    Analog Devices
    Producent:
    ANALOG DEVICES
    MPN:
    ADV7401
    Dodany:
    Zmiana ceny:
    -100%
  2. 12-Bit, Integrated, Multiformat SDTV/HDTV Video Decoder and RGB Graphics Digitizer Sample
    Do sklepu »

    12-Bit, Integrated, Multiformat SDTV/HDTV Video Decoder and RGB Graphics Digitizer

    ... rear projection HDTVs * PDP HDTVs * CRT HDTVs ...
    • Darmowa próbka
    Sklep:
    Analog Devices
    Producent:
    ANALOG DEVICES
    MPN:
    ADV7403
    Dodany:
    Zmiana ceny:
    -100%
  3. 10-Bit Integrated, Multiformat SDTV/HDTV Video Decoder, RGB Graphics Digitizer, and 2:1 Multiplexed HDMI/DVI Interface Sample
    Do sklepu »

    10-Bit Integrated, Multiformat SDTV/HDTV Video Decoder, RGB Graphics Digitizer, and 2:1 Multiplexed HDMI/DVI Interface

    ... APPLICATIONS * Advanced TVs PDP HDTVs LCD TVs ...
    • Darmowa próbka
    Sklep:
    Analog Devices
    Producent:
    ANALOG DEVICES
    MPN:
    ADV7441A
    Dodany:
  4. 12-Bit, Deep Color HDMI v1.3 Receiver with Analog Interface Sample
    Do sklepu »

    12-Bit, Deep Color HDMI v1.3 Receiver with Analog Interface

    ... . Applications * Advanced TV * PDP HDTVs * LCD ...
    • Darmowa próbka
    Sklep:
    Analog Devices
    Producent:
    ANALOG DEVICES
    MPN:
    ADV7604
    Dodany:
  5. 12-bit Deep Color Quad HDMI Receiver Sample
    Do sklepu »

    12-bit Deep Color Quad HDMI Receiver

    ... TVs AVR video receivers PDP HDTVs LCD TVs ...
    • Darmowa próbka
    Sklep:
    Analog Devices
    Producent:
    ANALOG DEVICES
    MPN:
    ADV7614
    Dodany:
  6. 10-Bit, SDTV/HDTV 3D Comb Filter, Video Decoder, and Graphics Digitizer Sample
    Do sklepu »

    10-Bit, SDTV/HDTV 3D Comb Filter, Video Decoder, and Graphics Digitizer

    ... AV receiver * LCD HDTVs * PDP HDTVs * CRT HDTVs ...
    • Darmowa próbka
    Sklep:
    Analog Devices
    Producent:
    ANALOG DEVICES
    MPN:
    ADV7800
    Dodany:
  7. 12-Bit, SDTV/HDTV 3D Comb Filter, Video Decoder, and Graphics Digitizer Sample
    Do sklepu »

    12-Bit, SDTV/HDTV 3D Comb Filter, Video Decoder, and Graphics Digitizer

    ... AV receiver * LCD HDTVs * PDP HDTVs * CRT HDTVs ...
    • Darmowa próbka
    Sklep:
    Analog Devices
    Producent:
    ANALOG DEVICES
    MPN:
    ADV7802
    Dodany:
    Zmiana ceny:
    -100%
  8. 3.8-Gbps 4-channel differential 8-to-16 and 16-to-8 mux for DVI 1.0/HDMI 1.3 applications Sample
    Do sklepu »

    3.8-Gbps 4-channel differential 8-to-16 and 16-to-8 mux for DVI 1.0/HDMI 1.3 applications

    ... (in a DLP, LCD TV, PDP, or other high-definition ...
    • Darmowa próbka
    Sklep:
    Texas Instruments
    Producent:
    TEXAS INSTRUMENTS
    MPN:
    TS3DV421
    Dodany:
  9. Quad HDMI 1.4 Fast Switching Receiver with 12-Bit, 170 MHz Video and Graphics Digitizer and 3D Comb Filter Decoder Sample
    Do sklepu »

    Quad HDMI 1.4 Fast Switching Receiver with 12-Bit, 170 MHz Video and Graphics Digitizer and 3D Comb Filter Decoder

    ... APPLICATIONS * Advanced TVs PDP HDTVs LCD TVs ...
    • Darmowa próbka
    Sklep:
    Analog Devices
    Producent:
    ANALOG DEVICES
    MPN:
    ADV7844
    Dodany:
  10. Sample
    Do sklepu »

    12-Bit Integrated Multi-Format SDTV / HDTV Video Decoder and RGB Graphics Digitizer

    ... rear projection HDTVs * PDP HDTVs * CRT HDTVs ...
    • Darmowa próbka
    Sklep:
    Analog Devices
    Producent:
    ANALOG DEVICES
    MPN:
    ADV7402A
    Dodany:
  11. 10-Bit Integrated MultiFormat Video Decoder with RGB Graphics Digitizer and Dual HDMI/DVI Receiver Sample
    Do sklepu »

    10-Bit Integrated MultiFormat Video Decoder with RGB Graphics Digitizer and Dual HDMI/DVI Receiver

    ... Applications * ADVANCED TV - PDP HDTVs - LCD TV ...
    • Darmowa próbka
    Sklep:
    Analog Devices
    Producent:
    ANALOG DEVICES
    MPN:
    ADV7441
    Dodany:
  12. 12-Bit, 170 MHz Video and Graphics Digitizer with 3D Comb Filter Decoder and Quad HDMI 1.3 Receiver Sample
    Do sklepu »

    12-Bit, 170 MHz Video and Graphics Digitizer with 3D Comb Filter Decoder and Quad HDMI 1.3 Receiver

    ... Applications * Advanced TVs PDP HDTVs LCD TVs ...
    • Darmowa próbka
    Sklep:
    Analog Devices
    Producent:
    ANALOG DEVICES
    MPN:
    ADV7840
    Dodany:
  13. 12-Bit Integrated MultiFormat Video Decoder with RGB Graphics Digitizer and Dual HDMI/DVI Receiver Sample
    Do sklepu »

    12-Bit Integrated MultiFormat Video Decoder with RGB Graphics Digitizer and Dual HDMI/DVI Receiver

    ... Applications * ADVANCED TV - PDP HDTVs - LCD TV ...
    • Darmowa próbka
    Sklep:
    Analog Devices
    Producent:
    ANALOG DEVICES
    MPN:
    ADV7443
    Dodany:
  14. Dual HDMI 1.4 Fast Switching Receiver with 12-Bit, 170 MHz Video and Graphics Digitizer and 3D Comb Filter Decoder Sample
    Do sklepu »

    Dual HDMI 1.4 Fast Switching Receiver with 12-Bit, 170 MHz Video and Graphics Digitizer and 3D Comb Filter Decoder

    ... Applications * Advanced TVs PDP HDTVs LCD TVs ...
    • Darmowa próbka
    Sklep:
    Analog Devices
    Producent:
    ANALOG DEVICES
    MPN:
    ADV7842
    Dodany:
  15. Integrated Multi-Format SDTV/HDTV Video Decoder and RGB Graphics Digitizer Sample
    Do sklepu »

    Integrated Multi-Format SDTV/HDTV Video Decoder and RGB Graphics Digitizer

    ... Rear projection HDTVs * PDP HDTVs * CRT HDTVs ...
    • Darmowa próbka
    Sklep:
    Analog Devices
    Producent:
    ANALOG DEVICES
    MPN:
    ADV7400A
    Dodany: