elecena.pl

750 0.01 PLN 20.22 PLN
  1. Digital Power Monitor with Convert Pin and ALERTB Output Sample
    Do sklepu »

    Digital Power Monitor with Convert Pin and ALERTB Output

    ... /power budgeting * Central office equipment ...
    • Darmowa próbka
    Sklep:
    Analog Devices
    Producent:
    ANALOG DEVICES
    MPN:
    ADM1191
    Dodany:
    Zmiana ceny:
    -100%
  2. Digital Power Monitor with Clear Pin and ALERT Output Sample
    Do sklepu »

    Digital Power Monitor with Clear Pin and ALERT Output

    ... /power budgeting * Central office equipment ...
    • Darmowa próbka
    Sklep:
    Analog Devices
    Producent:
    ANALOG DEVICES
    MPN:
    ADM1192
    Dodany:
    Zmiana ceny:
    -100%
  3. 5 MH TO 500 MH, 100 B Demodulating Logarithmic Amplifier with Limiter Output Sample
    Do sklepu »

    5 MH TO 500 MH, 100 B Demodulating Logarithmic Amplifier with Limiter Output

    ... ±0.4 dB over the central 80 dB and operates up ...
    • Darmowa próbka
    Sklep:
    Analog Devices
    Producent:
    ANALOG DEVICES
    MPN:
    AD8309
    Dodany:
    Zmiana ceny:
    -100%
  4. Fast, Voltage-Out, DC to 440 MH, 95 B Logarithmic Amplifier Sample
    Do sklepu »

    Fast, Voltage-Out, DC to 440 MH, 95 B Logarithmic Amplifier

    ... to 100 MHz over the central portion of the range ...
    • Darmowa próbka
    Sklep:
    Analog Devices
    Producent:
    ANALOG DEVICES
    MPN:
    AD8310
    Dodany:
    Zmiana ceny:
    -100%
  5. 48 V Full Feature Hot Swap Controller Sample
    Do sklepu »

    48 V Full Feature Hot Swap Controller

    ... period. APPLICATIONS * Central office switching ...
    • Darmowa próbka
    Sklep:
    Analog Devices
    Producent:
    ANALOG DEVICES
    MPN:
    ADM1073
    Dodany:
    Zmiana ceny:
    -100%
  6. Hot Swap Controller and Digital Power Monitor with Convert Pin Sample
    Do sklepu »

    Hot Swap Controller and Digital Power Monitor with Convert Pin

    ... /power budgeting * Central office equipment ...
    • Darmowa próbka
    Sklep:
    Analog Devices
    Producent:
    ANALOG DEVICES
    MPN:
    ADM1175
    Dodany:
    Zmiana ceny:
    -100%
  7. Hot Swap Controller and IC® Power Monitor Sample
    Do sklepu »

    Hot Swap Controller and IC® Power Monitor

    ... /power budgeting * Central office equipment ...
    • Darmowa próbka
    Sklep:
    Analog Devices
    Producent:
    ANALOG DEVICES
    MPN:
    ADM1176
    Dodany:
    Zmiana ceny:
    -100%
  8. Hot Swap Controller and Digital Power Monitor with Soft Start Pin Sample
    Do sklepu »

    Hot Swap Controller and Digital Power Monitor with Soft Start Pin

    ... /power budgeting * Central office equipment ...
    • Darmowa próbka
    Sklep:
    Analog Devices
    Producent:
    ANALOG DEVICES
    MPN:
    ADM1177
    Dodany:
    Zmiana ceny:
    -100%
  9. Hot Swap Controller and Digital Power Monitor with ALERTB Output Sample
    Do sklepu »

    Hot Swap Controller and Digital Power Monitor with ALERTB Output

    ... /power budgeting * Central office equipment ...
    • Darmowa próbka
    Sklep:
    Analog Devices
    Producent:
    ANALOG DEVICES
    MPN:
    ADM1178
    Dodany:
    Zmiana ceny:
    -100%
  10. Multi Power Supply Sequencer & Supervisor Sample
    Do sklepu »

    Multi Power Supply Sequencer & Supervisor

    ... . In central offices, ... APPLICATIONS * Central ...
    • Darmowa próbka
    Sklep:
    Analog Devices
    Producent:
    ANALOG DEVICES
    MPN:
    ADM1060
    Dodany:
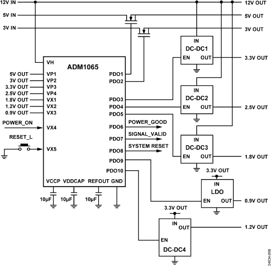
  11. Super Sequencer with Margining Control and Temperature Monitoring Sample
    Do sklepu »

    Super Sequencer with Margining Control and Temperature Monitoring

    ... Note. APPLICATIONS * Central office systems ...
    • Darmowa próbka
    Sklep:
    Analog Devices
    Producent:
    ANALOG DEVICES
    MPN:
    ADM1062
    Dodany:
    Zmiana ceny:
    -100%
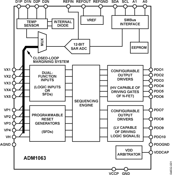
  12. Multisupply Supervisor/Sequencer with ADC and Temperature Monitoring Sample
    Do sklepu »

    Multisupply Supervisor/Sequencer with ADC and Temperature Monitoring

    ... a supply. Applications * Central office systems ...
    • Darmowa próbka
    Sklep:
    Analog Devices
    Producent:
    ANALOG DEVICES
    MPN:
    ADM1063
    Dodany:
    Zmiana ceny:
    -100%
  13. Super Sequencer™ and Monitor Sample
    Do sklepu »

    Super Sequencer™ and Monitor

    ... Note. APPLICATIONS * Central office systems ...
    • Darmowa próbka
    Sklep:
    Analog Devices
    Producent:
    ANALOG DEVICES
    MPN:
    ADM1065
    Dodany:
    Zmiana ceny:
    -100%
  14. Super Sequencer® with Margining Control and Auxiliary ADC Inputs Sample
    Do sklepu »

    Super Sequencer® with Margining Control and Auxiliary ADC Inputs

    ... converter. APPLICATIONS * Central office systems ...
    • Darmowa próbka
    Sklep:
    Analog Devices
    Producent:
    ANALOG DEVICES
    MPN:
    ADM1066
    Dodany:
    Zmiana ceny:
    -100%
  15. Compact Multi-Voltage Sequencer and Supervisor Sample
    Do sklepu »

    Compact Multi-Voltage Sequencer and Supervisor

    ... , Inc. Applications * Central office systems ...
    • Darmowa próbka
    Sklep:
    Analog Devices
    Producent:
    ANALOG DEVICES
    MPN:
    ADM1068
    Dodany:
    Zmiana ceny:
    -100%