elecena.pl

750 0.19 PLN 221.26 PLN
  1. Small, Low Power, 2-Axis ±3 MEMS® Accelerometer Sample
    Do sklepu »

    Small, Low Power, 2-Axis ±3 MEMS® Accelerometer

    The ADXL323 is a small, thin, low power, complete ...
    • Darmowa próbka
    Sklep:
    Analog Devices
    Producent:
    ANALOG DEVICES
    MPN:
    ADXL323
    Dodany:
  2. Sample
    Do sklepu »

    Precision Low Power 2.048 V SOT-23 Voltage Reference

    NEWER ALTERNATIVES with input voltages up to 5.5V ...
    • Darmowa próbka
    Sklep:
    Analog Devices
    Producent:
    ANALOG DEVICES
    MPN:
    ADR370
    Dodany:
  3. x3 Active Multiplier SMT, 8 - 16 GHz Fout Sample
    Do sklepu »

    x3 Active Multiplier SMT, 8 - 16 GHz Fout

    The HMC916LP3E is an active x3 frequency ...
    • Darmowa próbka
    Sklep:
    Analog Devices
    Producent:
    ANALOG DEVICES
    MPN:
    HMC916
    Dodany:
  4. 34 × 34, 3.2 Gbps Asynchronous Digital Crosspoint Switch Sample
    Do sklepu »

    34 × 34, 3.2 Gbps Asynchronous Digital Crosspoint Switch

    The AD8152 is a breakthrough cross point switch ...
    • Darmowa próbka
    Sklep:
    Analog Devices
    Producent:
    ANALOG DEVICES
    MPN:
    AD8152
    Dodany:
    Zmiana ceny:
    -100%
  5. Low Power 2.4 GHz wBMS Manager Sample
    Do sklepu »

    Low Power 2.4 GHz wBMS Manager

    The ADRF8800/ADRF8850 are low power, integrated ...
    • Darmowa próbka
    Sklep:
    Analog Devices
    Producent:
    ANALOG DEVICES
    MPN:
    ADRF8850
    Dodany:
  6. Low Power 2.4 GHz wBMS Node Sample
    Do sklepu »

    Low Power 2.4 GHz wBMS Node

    The ADRF8800/ADRF8850 are low power, integrated ...
    • Darmowa próbka
    Sklep:
    Analog Devices
    Producent:
    ANALOG DEVICES
    MPN:
    ADRF8800
    Dodany:
  7. Low Complexity, 2-Port Ethernet Switch with Integrated 10BASE-T1L PHYs Sample
    Do sklepu »

    Low Complexity, 2-Port Ethernet Switch with Integrated 10BASE-T1L PHYs

    The ADIN2111 is a low power, 2-port 10BASE-T1L ...
    • Darmowa próbka
    Sklep:
    Analog Devices
    Producent:
    ANALOG DEVICES
    MPN:
    ADIN2111
    Dodany:
    Zmiana ceny:
    -100%
  8. WSL...18 High Power Power Metal Strip® Resistors, High Power (2 x Standard WSL), Low Value (Down to 0.0005 Ohm), Surface Mo Sample
    Do sklepu »

    WSL...18 High Power Power Metal Strip® Resistors, High Power (2 x Standard WSL), Low Value (Down to 0.0005 Ohm), Surface Mo

    • Darmowa próbka
    Sklep:
    Vishay
    Producent:
    VISHAY
    MPN:
    WSL...18 High Power
    Dodany:
  9. Sample
    Do sklepu »

    ATZBRF233

    ATZB-RF-233-1-C ZigBit® is an ultra-compact ...
    • Zgodny z RoHS
    • Darmowa próbka
    Sklep:
    Microchip
    Producent:
    MICROCHIP
    MPN:
    ATZB-RF-233-1-CR
    Dodany:
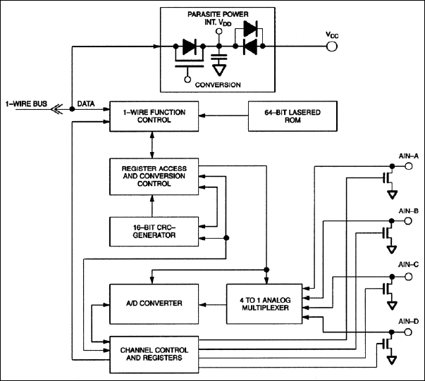
  10. 1-Wire Quad A/D Converter Sample
    Do sklepu »

    1-Wire Quad A/D Converter

    The DS2450 1-Wire® Quad A/D Converter is based on ...
    • Darmowa próbka
    Sklep:
    Analog Devices
    Producent:
    ANALOG DEVICES
    MPN:
    DS2450
    Dodany:
  11. 14-Bit, +5V, 200ksps ADC with 10µA Shutdown Sample
    Do sklepu »

    14-Bit, +5V, 200ksps ADC with 10µA Shutdown

    The MAX1062 low-power, 14-bit analog-to-digital ...
    • Darmowa próbka
    Sklep:
    Analog Devices
    Producent:
    ANALOG DEVICES
    MPN:
    MAX1062
    Dodany:
    Zmiana ceny:
    -100%
  12. 300ksps/400ksps, Single-Supply, Low-Power, 8-Channel, Serial 10-Bit ADCs with Internal Reference Sample
    Do sklepu »

    300ksps/400ksps, Single-Supply, Low-Power, 8-Channel, Serial 10-Bit ADCs with Internal Reference

    The MAX1080/MAX1081 10-bit analog-to-digital ...
    • Darmowa próbka
    Sklep:
    Analog Devices
    Producent:
    ANALOG DEVICES
    MPN:
    MAX1080
    Dodany:
  13. 300ksps/400ksps, Single-Supply, Low-Power, 8-Channel, Serial 10-Bit ADCs with Internal Reference Sample
    Do sklepu »

    300ksps/400ksps, Single-Supply, Low-Power, 8-Channel, Serial 10-Bit ADCs with Internal Reference

    The MAX1080/MAX1081 10-bit analog-to-digital ...
    • Darmowa próbka
    Sklep:
    Analog Devices
    Producent:
    ANALOG DEVICES
    MPN:
    MAX1080A
    Dodany:
  14. 300ksps/400ksps, Single-Supply, Low-Power, 8-Channel, Serial 10-Bit ADCs with Internal Reference Sample
    Do sklepu »

    300ksps/400ksps, Single-Supply, Low-Power, 8-Channel, Serial 10-Bit ADCs with Internal Reference

    The MAX1080/MAX1081 10-bit analog-to-digital ...
    • Darmowa próbka
    Sklep:
    Analog Devices
    Producent:
    ANALOG DEVICES
    MPN:
    MAX1080B
    Dodany:
  15. 300ksps/400ksps, Single-Supply, Low-Power, 8-Channel, Serial 10-Bit ADCs with Internal Reference Sample
    Do sklepu »

    300ksps/400ksps, Single-Supply, Low-Power, 8-Channel, Serial 10-Bit ADCs with Internal Reference

    The MAX1080/MAX1081 10-bit analog-to-digital ...
    • Darmowa próbka
    Sklep:
    Analog Devices
    Producent:
    ANALOG DEVICES
    MPN:
    MAX1081A
    Dodany: