elecena.pl

Low power integrated AFE with FIFO for wearable optical heart-rate monitoring and biosensing

Texas Instruments

Low power integrated AFE with FIFO for wearable optical heart-rate monitoring and biosensing RSS Sample
  • Darmowa próbka
MPN:
AFE4410
Producent:
TEXAS INSTRUMENTS
Dodany do bazy:
Ostatnio widziany:

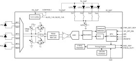
TheAFE4410is an analog front-end for optical biosensing applications, such as heart rate monitoring (HRM). The device supports a maximum of four switching light-emitting diodes (LEDs) and a maximum of three photodiodes (PDs). The electrical current from the photodiode is converted into voltage by the transimpedance amplifier (TIA) and digitized using an analog-to-digital converter (ADC). The ADC code is stored in a 128-sample first-in, first-out block (FIFO) with programmable depth. The FIFO can be read out using either an I2C interface or a serial peripheral interface (SPI). The AFE also has a fully integrated LED driver with 8-bit current control. The device has high dynamic range transmit-and-receive circuitry offering a dynamic range of up to 100 dB that enables accurate heart ratesensing. The AFE achieves extremely low current levels by operating an ultralow power (ULP) mode set by using the ENABLEULP register bit.

Elecena nie prowadzi sprzedaży elementów elektronicznych, ani w niej nie pośredniczy.

Produkt pochodzi z oferty sklepu