elecena.pl

Automotive multiphase 12A + 4A buck converter with integrated switches

Texas Instruments

Automotive multiphase 12A + 4A buck converter with integrated switches RSS Sample
  • Darmowa próbka
MPN:
LP87562-Q1
Producent:
TEXAS INSTRUMENTS
Dodany do bazy:
Ostatnio widziany:

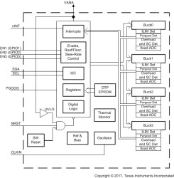
The LP8756x-Q1 device is designed to meet the power-management requirements of the latest processors and platforms in various automotive power applications. The device contains four step-down DC/DC converter cores, which are configured as a 4-phase output, 3-phase and 1-phase outputs, 2-phase and 2-phase outputs, one 2-phase and two 1-phase outputs, or four 1-phase outputs. The device is controlled by an I2C-compatible serial interface and by enable signals.

The automatic pulse-width-modulation (PWM) to pulsed-frequency-modulation (PFM) operation (AUTO mode), together with the automatic phase adding and phase shedding, maximizes efficiency over a wide output-current range. The LP8756x-Q1 supports remote differential-voltage sensing for multiphase outputs to compensate IR drop between the regulator output and the point-of-load (POL) improving the accuracy of the output voltage. The switching clock can be forced to PWM mode and also synchronized to an external clock to minimize the disturbances.

The LP8756x-Q1 device supports load-current measurement without the addition of external current-sense resistors. The device also supports programmable start-up and shutdown delays and sequences synchronized to enable signals. The sequences can include GPIO signals to control external regulators, load switches, and processor reset. During start-up and voltage change, the device controls the output slew rate to minimize output-voltage overshoot and in-rush current.

Elecena nie prowadzi sprzedaży elementów elektronicznych, ani w niej nie pośredniczy.

Produkt pochodzi z oferty sklepu