elecena.pl

TDC7201 Time-to-Digital Converter for Time-of-Flight Applications

Texas Instruments

TDC7201 Time-to-Digital Converter for Time-of-Flight Applications RSS Sample
  • Darmowa próbka
MPN:
TDC7201
Producent:
TEXAS INSTRUMENTS
Dodany do bazy:
Ostatnio widziany:

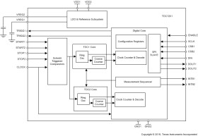
The TDC7201 is designed for use with ultrasonic, laser and radar range finding equipment using time-of-flight technique. The TDC7201 has two built-in Time-to-Digital Converters (TDCs) that can be used to measure distance down to 4 cm and up to several kilometers using a simple architecture, which eliminates the need to use expensive FPGAs or processors.

Each TDC performs the function of a stopwatch and measures the elapsed time (time-of-flight or TOF) between a START pulse and up to five STOP pulses. The ability to measure simultaneously and individually on two pairs of START and STOP pins using two built-in TDCs offers high flexibility in time measurement design.

The device has an internal self-calibrated time base which compensates for drift over time and temperature. Self-calibration enables time-to-digital conversion accuracy in the order of picoseconds. This accuracy makes the TDC7201 ideal for range finder applications.

When placed in the Autonomous Multi-Cycle Averaging Mode, the TDC7201 device can be optimized for low system power consumption, which is ideal for battery-powered flow meters. In this mode, the host can go to sleep to save power and wake up when interrupted by the TDC upon completion of the measurement sequence.

Elecena nie prowadzi sprzedaży elementów elektronicznych, ani w niej nie pośredniczy.

Produkt pochodzi z oferty sklepu