elecena.pl

C62x fixed point DSP- up to 167MHz

Texas Instruments

C62x fixed point DSP- up to 167MHz RSS Sample
  • Darmowa próbka
MPN:
TMS320C6211B
Producent:
TEXAS INSTRUMENTS
Dodany do bazy:
Ostatnio widziany:

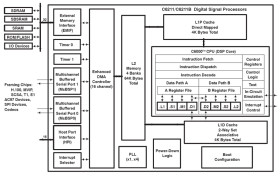
The TMS320C62x™ DSPs (including the TMS320C6211/C6211B devices) compose one of the fixed-point DSP families in the TMS320C6000™ DSP platform. The TMS320C6211 (C6211) and TMS320C6211B (C6211B) devices are based on the high-performance, advanced VelociTI™ very-long-instruction-word (VLIW) architecture developed by Texas Instruments (TI), making these DSPs an excellent choice for multichannel and multifunction applications.

With performance of up to 1333 million instructions per second (MIPS) at a clock rate of 167 MHz, the C6211/C6211B device offers cost-effective solutions to high-performance DSP programming challenges. The C6211/C6211B DSP possesses the operational flexibility of high-speed controllers and the numerical capability of array processors. This processor has 32 general-purpose registers of 32-bit word length and eight highly independent functional units. The eight functional units provide six arithmetic logic units (ALUs) for a high degree of parallelism and two 16-bit multipliers for a 32-bit result. The C6211/C6211B can produce two multiply-accumulates (MACs) per cycle for a total of 333 million MACs per second (MMACS). The C6211/C6211B DSP also has application-specific hardware logic, on-chip memory, and additional on-chip peripherals.

The C6211/C6211B uses a two-level cache-based architecture and has a powerful and diverse set of peripherals. The Level 1 program cache (L1P) is a 32-Kbit direct mapped cache and the Level 1 data cache (L1D) is a 32-Kbit 2-way set-associative cache. The Level 2 memory/cache (L2) consists of a 512-Kbit memory space that is shared between program and data space. L2 memory can be configured as mapped memory, cache, or combinations of the two.The peripheral set includes two multichannel buffered serial ports (McBSPs), two general-purpose timers, a host-port interface (HPI), and a glueless external memory interface (EMIF) capable of interfacing to SDRAM, SBSRAM and asynchronous peripherals.

The C6211/C6211B has a complete set of development tools which includes: a new C compiler, an assembly optimizer to simplify programming and scheduling, and a Windows™ debugger interface for visibility into source code execution.

Elecena nie prowadzi sprzedaży elementów elektronicznych, ani w niej nie pośredniczy.

Produkt pochodzi z oferty sklepu