40-V, 50-mΩ, 1-ch automotive smart high-side switch with adjustable current limit
Texas Instruments
RSS
Sample
- Darmowa próbka
- MPN:
- TPS1HB50-Q1
- Producent:
- TEXAS INSTRUMENTS
- Dodany do bazy:
- Ostatnio widziany:
Sugerowane produkty dla tps1hb50
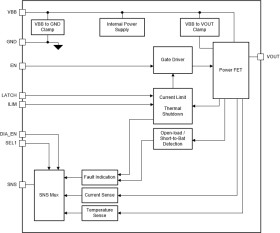
The TPS1HB50-Q1 device is a smart high-side switch intended for use in 12-V automotive systems. The device integrates robust protection and diagnostic features to ensure output port protection even during harmful events like short circuits in automotive systems. The device protects against faults through a reliable current limit, which, depending on device variant, is adjustable from 2 A to 18 A. The high current limit range allows for usage in loads that require large transient currents, while the low current limit range provides improved protection for loads that do not require high peak current. The device is capable of reliably driving a wide range of load profiles.
The TPS1HB50-Q1 also provides a high accuracy analog current sense that allows for improved load diagnostics. By reporting load current and device temperature to a system MCU, the device enables predictive maintenance and load diagnostics that improves the system lifetime.
The TPS1HB50-Q1 is available in a HTSSOP package which allows for reduced PCB footprint.
Elecena nie prowadzi sprzedaży elementów elektronicznych, ani w niej nie pośredniczy.
Produkt pochodzi z oferty sklepu Texas Instruments