16-bit, 75 MIPS, 2.5v, 2 serial ports, host port, 80 KB RAM
Analog Devices
RSS
Sample
- Darmowa próbka
- MPN:
- ADSP-2185M
- Producent:
- ANALOG DEVICES
- Dodany do bazy:
- Ostatnio widziany:
Sugerowane produkty dla in100
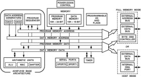
The ADSP-2185M is a single-chip microcomputer optimized for digital signal processing (DSP) and other high speed numeric processing applications.
The ADSP-2185M combines the ADSP-2100 family base architecture (three computational units, data address generators and a program sequencer) with two serial ports, a 16-bit internal DMA port, a byte DMA port, a programmable timer, Flag I/O, extensive interrupt capabilities, and on-chip program and data memory.
The ADSP-2185M integrates 80K bytes of on-chip memory configured as 16K words (24-bit) of program RAM, and 16K words (16-bit) of data RAM. Power down circuitry is also provided to meet the low power needs of battery operated portable equipment. The ADSP-2185M is available in 100- pin LQFP package.
* 13.3 ns Instruction Cycle Time @ 2.5 V (Internal), 75 MIPS Sustained Performance
* Single-Cycle Instruction Execution
* 3-Bus Architecture Allows Dual Operand Fetches in Every Instruction Cycle
* ADSP-2100 Family Code Compatible (Easy to Use Algebraic Syntax), with Instruction Set Extensions
Elecena nie prowadzi sprzedaży elementów elektronicznych, ani w niej nie pośredniczy.
Produkt pochodzi z oferty sklepu Analog Devices