Low Noise Angular Rate Sensor
Analog Devices
RSS
Sample
- Darmowa próbka
- MPN:
- ADIS16120
- Producent:
- ANALOG DEVICES
- Dodany do bazy:
- Ostatnio widziany:
Sugerowane produkty dla adis16120
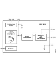
The ADIS16120 is a low noise, angular rate sensor (gyroscope) that includes all of the necessary embedded signal conditioning to provide a low noise, analog output over the complete dynamic range of ±300°/sec. Factory calibration provides excellent offset and gain accuracy. The unique design implementation provides superior stability over variations in temperature, voltage, linear acceleration, vibration, and next-level assembly. The surface-micromachining manufacturing technology is the same high volume BiMOS process used by Analog Devices, Inc. for its high reliability automotive sensor products.
The output signal, RATEOUT, is a voltage proportional to the angular rate about the axis normal to the top surface of the package. A precision reference and a temperature output are provided for system-level calibrations and a digital self-test feature is provided to enable system-level diagnostics. The self-test function electromechanically excites the sensor to verify proper operation.
The 35.6 mm × 42.4 mm (plus mounting extensions) package provides the convenience of a standard geometry 24-pin interface and four mounting holes for simple installation.
Applications
* Guidance and control
* Instrumentation
* Inertial measurement units (IMU)
* Stabilization
* Low noise density, 0.015°/sec/√Hz * ±300°/sec dynamic range * Z-axis, yaw rate, response * Calibrated offset and sensitivity * 320 Hz bandwidth, adjustable * 35 ms turn-on time
Elecena nie prowadzi sprzedaży elementów elektronicznych, ani w niej nie pośredniczy.
Produkt pochodzi z oferty sklepu Analog Devices