elecena.pl

Digital Thermometer and Thermostat in SOT23

Analog Devices

Digital Thermometer and Thermostat in SOT23 RSS Sample
  • Darmowa próbka
MPN:
DS1775
Producent:
ANALOG DEVICES
Dodany do bazy:
Ostatnio widziany:
Zmiana ceny:
-100% (22.03.2024)
Poprzednia cena:
1.33

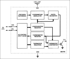
The DS1775 digital thermometer and thermostat provides temperature readings that indicate the device’s temperature. Thermostat settings and temperature readings are all communicated to/from the DS1775 over a simple 2-wire serial interface. No additional components are required; the device is truly a “temperature-to-digital” converter.

For applications that require greater temperature resolution, the user can adjust the readout resolution from 9 to 12 bits. This is particularly useful in applications where thermal runaway conditions must be detected quickly.

The open-drain thermal alarm output, O.S., becomes active when the temperature of the device exceeds a user-defined temperature TOS. The number of consecutive faults required to set O.S. active is configurable by the user. The device can also be configured in the interrupt or comparator mode, to customize the method which clears the fault condition.

As a digital thermometer, the DS1775 is software compatible with the DS75 2-wire thermal watchdog. The DS1775 is assembled in a compact 5-pin SOT23 package, allowing for low-cost thermal monitoring/control in spaceconstrained applications. The low thermal mass allows for time constants previously only possible with thermistors.

Applications

* Any Thermally-Sensitive System * Cell Phones * Office Equipment * Personal Computers/Servers/Workstations

* Temperature Measurements Require No External Components

* Measures Temperatures from -55°C to +125°C (-67°F to +257°F)

* ±2.0°C Thermometer Accuracy

* Thermometer Resolution is Configurable from 9 Bits to 12 Bits (0.5°C to 0.0625°C Resolution)

* User-Definable Thermostat Settings

* Data is Read From/Written to Through a 2-Wire Serial Interface

* 2.7V to 5.5V Wide Power-Supply Range

* Software Compatible with DS75 2-Wire Thermal Watchdog in Thermometer Mode

* Space-Conscious 5-Pin SOT23 Package with Low Thermal Time Constant

Elecena nie prowadzi sprzedaży elementów elektronicznych, ani w niej nie pośredniczy.

Produkt pochodzi z oferty sklepu