elecena.pl

Smart Battery Monitor

Analog Devices

Smart Battery Monitor RSS Sample
  • Darmowa próbka
MPN:
DS2438
Producent:
ANALOG DEVICES
Dodany do bazy:
Ostatnio widziany:
Zmiana ceny:
-100% (22.01.2025)
Poprzednia cena:
4.39

The DS2438 remains in production, however, for new projects, we recommend ModelGauge m5 MAX17215 fuel gauge.

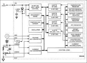
The DS2438 smart battery monitor provides several functions that are desirable to carry in a battery pack: a means of tagging a battery pack with a unique serial number, a direct-to-digital temperature sensor which eliminates the need for thermistors in the battery pack, an A/D converter which measures the battery voltage and current, an integrated current accumulator which keeps a running total of all current going into and out of the battery, an elapsed time meter, and 40 bytes of nonvolatile EEPROM memory for storage of important parameters such as battery chemistry, battery capacity, charging methodology and assembly date. Information is sent to/from the DS2438 over a 1-Wire® interface, so that only one wire (and ground) needs to be connected from a central microprocessor to a DS2438. This means that battery packs need only have three output connectors: battery power, ground, and the 1-Wire interface.

Because each DS2438 contains a unique silicon serial number, multiple DS2438s can exist on the same 1-Wire bus. This allows multiple battery packs to be charged or used in the system simultaneously.

Applications for the smart battery monitor include portable computers, portable/cellular telephones, and handheld instrumentation battery packs in which it is critical to monitor real-time battery performance. Used in conjunction with a microcontroller in the host system, the DS2438 provides a complete smart battery pack solution that is fully chemistry-independent. The customization for a particular battery chemistry and capacity is realized in the code programmed into the microcontroller and DS2438 EEPROM, and only a software revision is necessary should a designer wish to change battery pack chemistry.Applications

* Cell Phones * Digital Still Cameras * Digital Video Cameras * Palmtops, Handy Terminals (incl. barcode) * Pen Entry Palmtops, PDAs and Organizers * Smart Battery Packs/Chargers

* Unique 1-Wire interface requires only one port pin for communication

* Provides unique 64-bit serial number to battery packs

* Eliminates thermistors by sensing battery temperature on-chip

* On-board A/D converter allows monitoring of battery voltage for end-of-charge and end-of-discharge determination

* On-board integrated current accumulator facilitates fuel gauging

* Elapsed time meter in binary format

* 40-byte nonvolatile user memory available for storage of battery-specific data

* Operating range -40°C to +85°C

Elecena nie prowadzi sprzedaży elementów elektronicznych, ani w niej nie pośredniczy.

Produkt pochodzi z oferty sklepu