elecena.pl

Low-Power, Serial, 14-Bit DACs with Force-Sense Voltage-Output

Analog Devices

Low-Power, Serial, 14-Bit DACs with Force-Sense Voltage-Output RSS Sample
  • Darmowa próbka
MPN:
MAX5173
Producent:
ANALOG DEVICES
Dodany do bazy:
Ostatnio widziany:
Zmiana ceny:
-100% (18.01.2025)
Poprzednia cena:
9.63

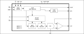
The MAX5171/MAX5173 low-power, serial, voltage-output, 14-bit digital-to-analog converters (DACs) feature a precision output amplifier in a space-saving 16-pin QSOP package. The MAX5171 operates from a +5V single supply, and the MAX5173 operates from a +3V single supply. The output amplifier's inverting input is available to allow specific gain configurations, remote sensing, and high output current capability. This makes the MAX5171/ MAX5173 ideal for a wide range of applications, including industrial process control. Both devices draw only 260µA of supply current, which reduces to 1µA in shutdown mode. In addition, the programmable power-up reset feature allows for a user-selectable output voltage of either 0 or midscale.

The 3-wire serial interface is compatible with SPI™, QSPI™, and MICROWIRE™ standards. An input register followed by a DAC register provides a double-buffered input, allowing the input and DAC registers to be updated independently or simultaneously with a 16-bit serial word. Additional features include software and hardware shutdown, shutdown lockout, a hardware clear pin, and a reference input capable of accepting DC and offset AC signals. These devices provide a programmable digital output pin for added functionality and a serial-data output pin for daisy-chaining. All logic inputs are TTL/CMOS-compatible and are internally buffered with Schmitt triggers to allow direct interfacing to optocouplers.

The MAX5171/MAX5173 incorporate a proprietary on-chip circuit that keeps the output voltage virtually "glitch free," limiting the glitches to a few millivolts during power-up.

Both devices are available in 16-pin QSOP packages and are specified for the extended (-40°C to +85°C) temperature range. The MAX5171/MAX5173 are pin-compatible upgrades to the 12-bit MAX5175/MAX5177. For 100% pin-compatible DACs with an internal reference, see the 13-bit MAX5132/MAX5133 and the 12-bit MAX5122/MAX5123 data sheets.

Applications

* µP-Controlled Systems * Automated Test Equipment (ATE) * Digital Gain and Offset Control * Digitally Programmable 4mA–20mA Current Loops * Industrial Process Controls * Motion Control * Remote Industrial Controls

* ±1 LSB INL

* 1µA Shutdown Current

* "Glitch Free" Output Voltage at Power-Up

* Single-Supply Operation:

* +5V (MAX5171)

* +3V (MAX5173)

* Full-Scale Output Range:

* +2.048V (MAX5173, VREF = +1.25V)

* +4.096V (MAX5171, VREF = +2.5V )

* Rail-to-Rail Output Amplifier

* Low THD (-80dB) in Multiplying Operation

* SPI/QSPI/MICROWIRE-Compatible 3-Wire Serial Interface

* Programmable Shutdown Mode and Power-Up Reset

* Buffered Output Capable of Driving 5kΩ || 100pF Loads

* User-Programmable Digital Output Pin Allows Serial Control of External Components

* Pin-Compatible Upgrade to the 12-Bit MAX5175/MAX5177

Elecena nie prowadzi sprzedaży elementów elektronicznych, ani w niej nie pośredniczy.

Produkt pochodzi z oferty sklepu