elecena.pl

Single 16-Bit DAC with Current and Voltage Outputs for Industrial Analog Output Modules

Analog Devices

Single 16-Bit DAC with Current and Voltage Outputs for Industrial Analog Output Modules RSS Sample
  • Darmowa próbka
MPN:
MAX5661
Producent:
ANALOG DEVICES
Dodany do bazy:
Ostatnio widziany:

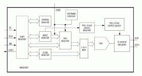
The MAX5661 single 16-bit DAC with precision high-voltage amplifiers provides a complete solution for programmable current and voltage-output applications. The output amplifiers swing to industry-standard levels of ±10V (voltage output) or source from 0mA (or from 4mA) to 20mA (current output). The voltage output (OUTV) drives resistive loads greater than 2kΩ and capacitive loads of up to 1.2µF. Voltage-output force-sense connections compensate for series protection resistors and field-wiring resistance. Short-circuit protection on the voltage output limits output current to 10mA (typ) sourcing or -11.5mA (typ) sinking. The current output (OUTI) drives resistive loads up to 37.5V (max) and inductive loads up to 1H.

The MAX5661 provides either a current output or a voltage output. Only one output is active at any given time, regardless of the configuration. The MAX5661 voltage output operates with ±13.48V to ±15.75V supplies (VDDV, VSSV) and the current output operates with a single +13.48V to +40V supply (VDDI). A +4.75V to +5.25V digital supply (VCC) powers the rest of the internal circuitry. A buffered reference input accepts an external +4.096V reference voltage.

Update the DAC outputs using software commands or the asynchronous active-low LDAC input. An asynchronous active-low CLR input sets the DAC outputs to the value stored in the clear register or to zero. The active-low FAULT output asserts when the DAC's current output is an open circuit, the DAC's voltage output is a short circuit, or when the active-low CLR input is low.

The MAX5661 communicates through a 4-wire 10MHz SPI-/QSPI™-/MICROWIRE™-compatible serial interface. The DOUT output allows daisy chaining of multiple devices. The MAX5661 is available in a 10mm x 10mm, 64-pin, LQFP package and operates over the -40°C to +105°C temperature range.

Applications

* Industrial Analog Output Modules * Industrial Instrumentation * Process Control * Programmable Logic Controls/Distributed Control Systems

* 10-Bit Programmable Full-Scale Output Adjustment for Up to ±25% Over Range

* Programmable Voltage Output

* Unipolar Range: 0 to +10.24V ±25%

* Bipolar Range: ±10.24V ±25%

* Programmable Current Output

* Unipolar Low Range: 0 to 20.45mA

* Unipolar High Range: 3.97mA to 20.45mA

* Flexible Analog Supplies (See Table 16)

* ±13.48V to ±15.75V for Voltage Output

* +13.48V to +40V for Current Output

* Force-Sense Connections (Voltage Output) for Differential Voltage-Output Remote Sensing

* Voltage-Output Current Limit

* Dropout Detector Senses Out-of-Regulation Current Output

* Active-Low CLR and Active-Low LDAC Inputs for Asynchronous DAC Updates

* Active-Low CLR Input Resets Output to Programmed Value or Zero Code

* Active-Low FAULT Output Indicates Open-Circuited Current Output, Short-Circuited Voltage Output, or Clear State

* Temperature Drift

* Voltage Output: ±0.4ppm FSR/°C

* Current Output: ±7.9ppm FSR/°C

* Small 64-Pin LQFP Package (10mm x 10mm)

Elecena nie prowadzi sprzedaży elementów elektronicznych, ani w niej nie pośredniczy.

Produkt pochodzi z oferty sklepu