elecena.pl

Dual-Channel, 14-Bit, 80-MSPS Analog-to-Digital Converter (ADC)

Texas Instruments

Dual-Channel, 14-Bit, 80-MSPS Analog-to-Digital Converter (ADC) RSS Sample
  • Darmowa próbka
MPN:
ADS62P43
Producent:
TEXAS INSTRUMENTS
Dodany do bazy:
Ostatnio widziany:

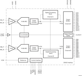
ADS62P4X is a dual channel 14-bit A/D converter family with maximum sample rates up to 125 MSPS. It combines high performance and low power consumption in a compact 64 QFN package. Using an internal sample and hold and low jitter clock buffer, the ADC supports high SNR and high SFDR at high input frequencies. It has coarse and fine gain options that can be used to improve SFDR performance at lower full-scale input ranges.

ADS62P4X includes a digital processing block that consists of several useful and commonly used digital functions such as ADC offset correction, fine gain correction (in steps of 0.05 dB), decimation by 2,4,8 and in-built and custom programmable filters. By default, the digital processing block is bypassed, and its functions are disabled.

Two output interface options exist – parallel CMOS and DDR LVDS (Double Data Rate). ADS62P4X includes internal references while traditional reference pins and associated decoupling capacitors have been eliminated. Nevertheless, the device can also be driven with an external reference. The device is specified over the industrial temperature range (–40°C to 85°C).

Elecena nie prowadzi sprzedaży elementów elektronicznych, ani w niej nie pośredniczy.

Produkt pochodzi z oferty sklepu