elecena.pl

Enhanced Product 12-Bit, Single Channel Dac, Parallel, Voltage Out, Low Power

Texas Instruments

Enhanced Product 12-Bit, Single Channel Dac, Parallel, Voltage Out, Low Power RSS Sample
  • Darmowa próbka
MPN:
TLV5619-EP
Producent:
TEXAS INSTRUMENTS
Dodany do bazy:
Ostatnio widziany:

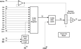
The TLV5619 is a 12-bit voltage output DAC with a microprocessor and TMS320 compatible parallel interface. The 12 data bits are double buffered so that the output can be updated asynchronously using the LDAC\ pin. During normal operation, the device dissipates 8 mW at a 5-V supply and 4.3 mW at a 3-V supply. The power consumption can be lowered to 50 nW by setting the DAC to power-down mode.

The output voltage is buffered by a ×2 gain rail-to-rail amplifier, which features a Class A output stage to improve stability and reduce settling time.

Elecena nie prowadzi sprzedaży elementów elektronicznych, ani w niej nie pośredniczy.

Produkt pochodzi z oferty sklepu