20 MHz - 68 MHz LVDS Serdes Transmitter
Texas Instruments
RSS
Sample
- Darmowa próbka
- MPN:
- SN65LVDS93
- Producent:
- TEXAS INSTRUMENTS
- Dodany do bazy:
- Ostatnio widziany:
Sugerowane produkty dla sn65lvds94
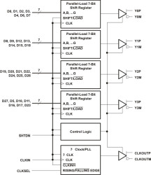
The SN65LVDS93 LVDS serdes (serializer/ deserializer) transmitter contains four 7-bit parallel- load serial-out shift registers, a 7× clock synthesizer, and five low-voltage differential signaling (LVDS) drivers in a single integrated circuit. These functions allow 28 bits of single-ended LVTTL data to be synchronously transmitted over five balanced-pair conductors for receipt by a compatible receiver, such as the SN65LVDS94.
When transmitting, data bits D0 through D27 are each loaded into registers upon the edge of the input clock signal (CLKIN). The rising or falling edge of the clock can be selected via the clock select (CLKSEL) pin. The frequency of CLKIN is multiplied seven times and then used to serially unload the data registers in 7-bit slices. The four serial streams and a phase-locked clock (CLKOUT) are then output to LVDS output drivers. The frequency of CLKOUT is the same as the input clock, CLKIN.
The SN65LVDS93 requires no external components and little or no control. The data bus appears the same at the input to the transmitter and output of the receiver with the data transmission transparent to the user(s). The only user intervention is selecting a clock rising edge by inputting a high level to CLKSEL or a falling edge with a low-level input and the possible use of the shutdown/clear (SHTDN). SHTDN is an active-low input to inhibit the clock and shut off the LVDS output drivers for lower power consumption. A low level on this signal clears all internal registers at a low level.
The SN65LVDS93 is characterized for operation over ambient air temperatures of -40°C to 85°C.
Elecena nie prowadzi sprzedaży elementów elektronicznych, ani w niej nie pośredniczy.
Produkt pochodzi z oferty sklepu Texas Instruments