Industrial CAN Transceiver with Ultra Low Power Standby Mode with Bus Wake-up
Texas Instruments
RSS
Sample
- Darmowa próbka
- MPN:
- SN65HVD1040
- Producent:
- TEXAS INSTRUMENTS
- Dodany do bazy:
- Ostatnio widziany:
Sugerowane produkty dla sn65hvd1040
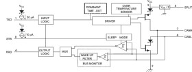
The SN65HVD1040 meets or exceeds the specifications of the ISO 11898 standard for use in applications employing a Controller Area Network (CAN). As a CAN bus transceiver, the SN65HVD1040 device provides differential transmit and receive capability for a CAN controller at signaling rates of up to 1 Mbps(1).
Designed for operation in especially harsh environments, the device features ±12 kV ESD protection on the bus and split pins, cross-wire, overvoltage and loss of ground protection from –27 V to 40 V, overtemperature shutdown, a –12 V to 12 V common-mode range, and will withstanding voltage transients from –200 V to 200 V according to ISO 7637.
The STB input (pin 8) selects between two different modes of operation; high-speed or low-power mode. The high-speed mode of operation is selected by connecting STB to ground.
If a high logic level is applied to the STB pin of the SN65HVD1040, the device enters a low-power bus-monitor standby mode. While the SN65HVD1040 is in the low-power bus-monitor standby mode, a dominant bit greater than 5 μs on the bus is passed by the bus-monitor circuit to the receiver output. The local protocol controller may then reactivate the device when it needs to transmit to the bus.
A dominant time-out circuit in the SN65HVD1040 prevents the driver from blocking network communication during a hardware or software failure. The time-out circuit is triggered by a falling edge on TXD (pin 1). If no rising edge is seen before the time-out constant of the circuit expires, the driver is disabled. The circuit is then reset by the next rising edge on TXD.
The SPLIT output (pin 5) is available on the SN65HVD1040 as a VCC/2 common-mode bus voltage bias for a split-termination network.
The SN65HVD1040 is characterized for operation from –40°C to 125°C.
Elecena nie prowadzi sprzedaży elementów elektronicznych, ani w niej nie pośredniczy.
Produkt pochodzi z oferty sklepu Texas Instruments