elecena.pl

8-bit 2.3- to 5.5-V I2C/SMBus I/O expander with interrupt & config registers

Texas Instruments

8-bit 2.3- to 5.5-V I2C/SMBus I/O expander with interrupt & config registers RSS Sample
  • Darmowa próbka
MPN:
PCA9534A
Producent:
TEXAS INSTRUMENTS
Dodany do bazy:
Ostatnio widziany:

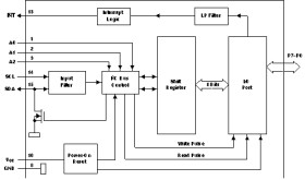
The PCA9534A and PCA9534 are identical, except for their fixed I2C address. This allows for up to 16 of these devices (8 of each) on the same I2C bus.

INT can be connected to the interrupt input of a microcontroller. By sending an interrupt signal on this line, the remote I/O can inform the microcontroller if there is incoming data on its ports without having to communicate via the I2C bus. Thus, the PCA9534A can remain a simple slave device.

The device’s outputs (latched) have high-current drive capability for directly driving LEDs. It has low current consumption.

Three hardware pins (A0, A1, and A2) are used to program and vary the fixed I2C address and allow up to eight devices to share the same I2C bus or SMBus.

The PCA9534A is pin-to-pin and I2C address compatible with the PCF8574A. However, software changes are required due to the enhancements in the PCA9534A over the PCF8574A.

The PCA9534A is a low-power version of the PCA9554A. The only difference between the PCA9534A and PCA9554A is that the PCA9534A eliminates an internal I/O pullup resistor, which dramatically reduces power consumption in the standby mode when the I/Os are held low.

Elecena nie prowadzi sprzedaży elementów elektronicznych, ani w niej nie pośredniczy.

Produkt pochodzi z oferty sklepu