Mobile I/O Companion Supporting Keyscan, I/O Expansion, PWM, and ACCESS.bus Host Interface
Texas Instruments
RSS
Sample
- Darmowa próbka
- MPN:
- LM8325-1
- Producent:
- TEXAS INSTRUMENTS
- Dodany do bazy:
- Ostatnio widziany:
Sugerowane produkty dla lm83251
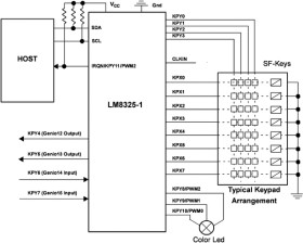
The LM8325-1 GenI/O - Expander and Keypad Controller is a dedicated device to unburden a host processor from scanning a matrix-addressed keypad and to provide flexible and general purpose, host programmable input/output functions. Three independent PWM timer outputs are provided for dynamic LED brightness modulation.
It communicates with a host processor through an I2C-compatible ACCESS.bus serial interface. It can communicate in Standard (100 kHz) - and Fast-Mode (400 kHz) in slave Mode only.
All available input/output pins can alternately be used as an input or an output in a keypad matrix or as a host programmable general purpose input or output.
Any pin programmed as an input can also sense hardware interrupts. The interrupt polarity (“high to low” or “low to high” transition) is thereby programmable.
The LM8325-1 follows a predefined register based set of commands. Upon startup (power - on) a configuration file must be sent from the host to setup the hardware of the device.
Elecena nie prowadzi sprzedaży elementów elektronicznych, ani w niej nie pośredniczy.
Produkt pochodzi z oferty sklepu Texas Instruments