Mobile I/O Companion Supporting Keyscan, I/O Expansion, PWM, and ACCESS.bus Host Interface
Texas Instruments
RSS
Sample
- Darmowa próbka
- MPN:
- LM8327
- Producent:
- TEXAS INSTRUMENTS
- Dodany do bazy:
- Ostatnio widziany:
Sugerowane produkty dla lm8327
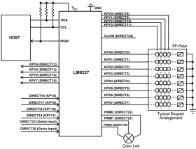
The LM8327 GenI/O-Expander and Keypad Controller is a dedicated device to unburden a host processor from scanning a matrix-addressed keypad and to provide flexible and general purpose, host-programmable input/output functions. Three independent PWM timer outputs are provided for dynamic LED brightness modulation.
It communicates with a host processor through an I2C-compatible ACCESS.bus serial interface. It can communicate in Standard (100 kHz) and Fast-Mode (400 kHz) in slave Mode only.
All available input/output pins can alternately be used as a direct key input connection, an input or an output in a keypad matrix, or as a host-programmable general purpose input or output.
Any pin programmed as an input can also sense hardware interrupts. The interrupt polarity (“high-to-low” or “low-to-high” transition) is thereby programmable.
The LM8327 follows a predefined register based set of commands. Upon startup (power on) a configuration file must be sent from the host to setup the hardware of the device.
Elecena nie prowadzi sprzedaży elementów elektronicznych, ani w niej nie pośredniczy.
Produkt pochodzi z oferty sklepu Texas Instruments