Enhanced Product PHYTER extreme temperature single port 10/100 Mb/s Ethernet physical layer
Texas Instruments
RSS
Sample
- Darmowa próbka
- MPN:
- DP83848-EP
- Producent:
- TEXAS INSTRUMENTS
- Dodany do bazy:
- Ostatnio widziany:
Sugerowane produkty dla dp83848
The number of applications requiring Ethernet connectivity continues to increase. Along with this increased market demand is a change in application requirements. The DP83848-EP was designed to allow Ethernet connectivity in the harshest environments. Our device meets IEEE 802.3u standards over a military temperature range of –55°C to 125°C. This device is ideally suited for harsh environments for example avionics, defense and industrial control applications.
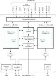
The DP83848-EP is a highly reliable, feature rich robust device which includes enhanced ESD protection, MII, and RMII for maximum flexibility in MPU selection all in a 48-pin PQFP package.
The DP83848-EP features integrated sublayers to support both 10BASE-T and 100BASE-TX Ethernet protocols, which ensures compatibility and interoperability with all other standards based Ethernet solutions.
Elecena nie prowadzi sprzedaży elementów elektronicznych, ani w niej nie pośredniczy.
Produkt pochodzi z oferty sklepu Texas Instruments